跳泉系统结构图

跳泉
图片尺寸440x330
喷泉厂家音乐喷泉公司音乐喷泉设计
图片尺寸678x678
回流内导式玻光跳泉制造技术
图片尺寸457x533
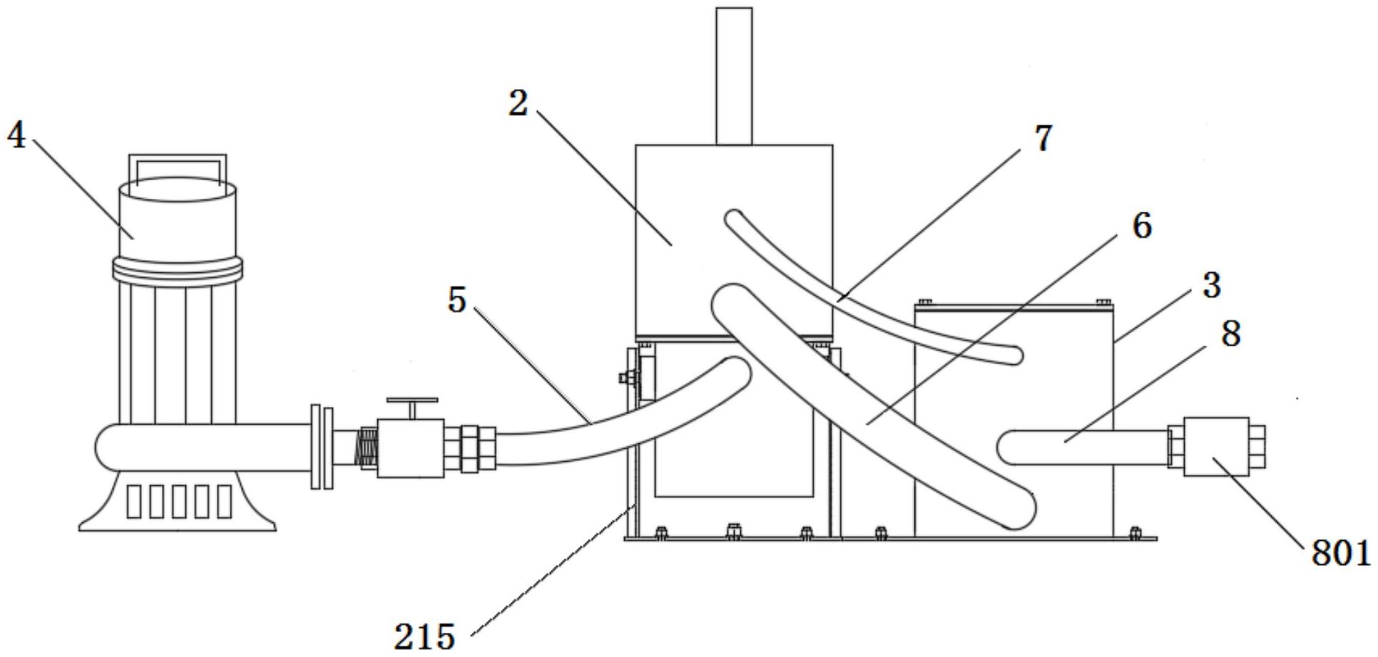
多媒体音乐喷泉控制系统的制作方法
图片尺寸1000x683
跳泉施工图
图片尺寸560x403
弧形波光喷泉系统的制作方法
图片尺寸1000x471
快速拆装波光跳泉制造技术
图片尺寸541x532
河北音乐制作厂家河北波光跳泉制作公司河北广场施工安装
图片尺寸1080x1440
小区景观波光跳泉美轮美奂
图片尺寸480x270
回流内导式水下密封玻光跳泉专利_专利申请于2016
图片尺寸423x534
本实用新型公开了一种水下玻光跳泉设备,属于喷泉领
图片尺寸1932x922
波光跳泉制作厂家_喷嘴_效果_控制系统
图片尺寸3000x4000
到设备安装,每一步都经过严格把关,力求打造安全,稳定,耐用的喷泉系统
图片尺寸640x480
一种水下玻光跳泉设备的制作方法
图片尺寸1000x479
波光跳泉 水下跳泉 跳跳泉 坤湛喷泉设备厂 #坤湛喷泉厂家 - 抖音
图片尺寸1080x1920
像拱门一样的波光泉公园广场波光跳泉水景
图片尺寸720x953
大型公园广场音乐喷泉喷头全套设备户外庭院跳泉涌泉控制系统可定
图片尺寸1080x1080
锈喷钢波全光跳泉泉喷头套01设备珍珠跳不泉控制系统室外光亮泉定
图片尺寸1000x1000
波光喷泉跳泉设计施工维护 国科智喷 专业喷泉厂家
图片尺寸640x427
音乐喷泉系统制作旱地喷泉波光跳泉涌泉矩阵喷泉喊泉跑泉水幕电影
图片尺寸800x800