跳远起跳板详图

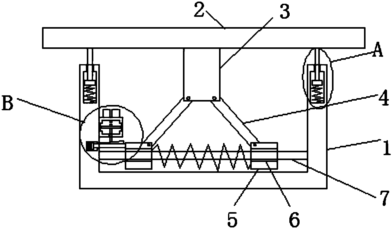
一种体育教学跳远用起跳板
图片尺寸1875x959
cn208525719u_一种跳远比赛中防止踩线的起跳板有效
图片尺寸1260x732
一种跳远比赛中防止踩线的起跳板的制作方法
图片尺寸1000x587
沙坑起跳板木质沙坑起跳板新型橡皮泥起跳板生产厂家-沙坑起跳板
图片尺寸500x375
尤其是在跳远和鞍马等运动项目中,现有的起跳板,通过弹簧上端对踏板的
图片尺寸352x496
一种田径训练用起跳板
图片尺寸555x455
背景技术:体育教学中,起跳板是常用的器械之一,尤其是在跳远和鞍马等
图片尺寸1000x587
一种体育教学用起跳板的制作方法
图片尺寸526x391
背景技术:起跳板是跳远,跳高等田径运动中常用的辅助设备,对运动人员
图片尺寸1000x703
背景技术:体育教学中,起跳板是最常用的器械之一,尤其是在跳远和鞍马
图片尺寸541x319
背景技术:体育教学中,起跳板是最常用的器械之一,尤其是在跳远和鞍马
图片尺寸1000x816
背景技术:体育教学中,起跳板是最常用的器械之一,尤其是在跳远和鞍马
图片尺寸1000x762
背景技术:目前,体育教学中,起跳板是常用的器械之一,尤其是在跳远和
图片尺寸1000x670
一种体育用的起跳板的制作方法
图片尺寸443x336
田径比赛三级跳远起跳板橡皮泥起跳板/起跳/助跳板沙坑
图片尺寸750x880
跳远起跳板前沿至沙坑近端的距离为2米.
图片尺寸695x374
一种田径训练起跳板
图片尺寸444x221
文档下载 所有分类 高中教育 其它课程 > 跳远,三级跳远场地起跳板用
图片尺寸701x604
三级跳踏板田径比赛助跳板松木沙坑起跳板立定跳远起跳板考试器材
图片尺寸800x800
技术介绍 体育教学中,在跳远和鞍马等运动项目中,起跳板是常用的菩档
图片尺寸1000x725