跷跷板平面图尺寸

项目总结电动车跷跷板
图片尺寸1315x870
跷跷板装置
图片尺寸820x656
cn207477954u_一种跷跷板有效
图片尺寸1894x1248
cn208130483u_一种供多人玩耍的跷跷板有效
图片尺寸1446x853
跷跷板的制作方法
图片尺寸1000x478
一种儿童娱乐用跷跷板的制作方法
图片尺寸1000x397
cn106075918b_一种娱乐跷跷板有效
图片尺寸1000x474
>>(id:318243/体育用品)
图片尺寸616x900
zjj-2015儿童跷跷板 户外健身器材小区健身路径 公园全民室外器材
图片尺寸750x609
智能跷跷板的制作方法
图片尺寸908x1000
一种可提高安全性能的跷跷板
图片尺寸1000x796
一种减震跷跷板制造技术
图片尺寸1000x613
一种单人跷跷板
图片尺寸528x202
儿童休闲跷跷板
图片尺寸1000x461
我的美篇
图片尺寸1200x1200
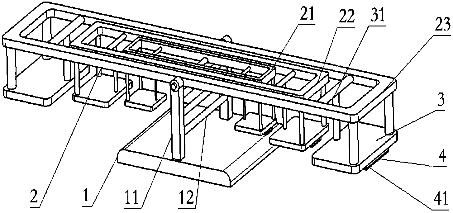
一种娱乐跷跷板
图片尺寸1454x684
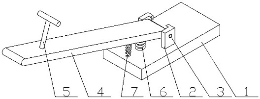
一种具有降落保护功能的跷跷板的制作方法
图片尺寸443x300
跷跷板简笔画步骤图
图片尺寸900x600
一种水上跷跷板
图片尺寸1000x792
一种用于水上乐园的防滑跷跷板的制作方法
图片尺寸443x310