跷跷板结构

先通过最简单的跷跷板,了解杠杆的基本要素, 支点,动力臂和阻力臂.
图片尺寸709x520
三年级科学下册_跷跷板课件1_青岛版ppt
图片尺寸1080x810
本节课要求学生在课前跷跷板的结构有所了解,知道杠杆原理
图片尺寸1242x1386
一种新型跷跷板的制作方法
图片尺寸1000x832
【项目总结】电动车跷跷板
图片尺寸1315x870
一起学拼搭跷跷板图解
图片尺寸900x1200
> 专利 > cn205569744u 摘要:本实用新型涉及一种跷跷板,其结构是
图片尺寸600x438
旋转跷跷板的制作方法
图片尺寸1000x503
儿童休闲跷跷板
图片尺寸1000x461
幼儿园双人跷跷板 儿童摇马 儿童双人摇摇马
图片尺寸1153x752
一种游乐园安全型跷跷板的制作方法
图片尺寸1000x798
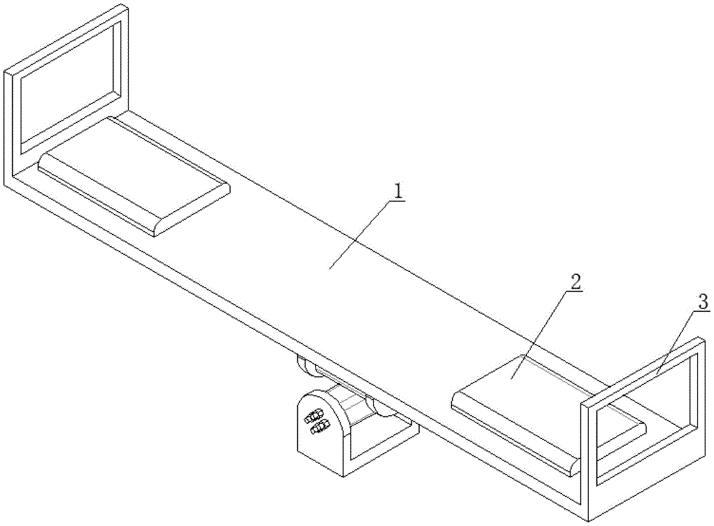
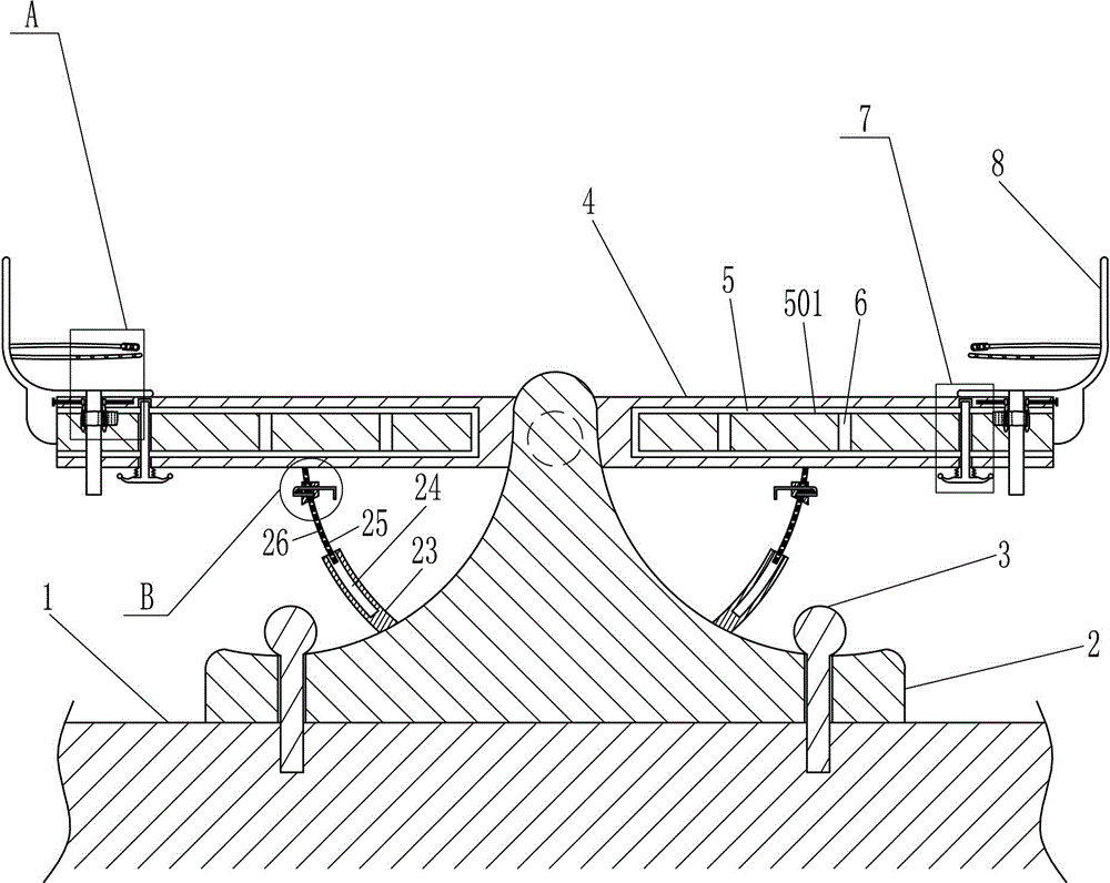
一种应用于跷跷板的结构及使用该结构的跷跷板的制作方法
图片尺寸1000x738
一种可提高安全性能的跷跷板
图片尺寸1000x796
cn211189101u_一种应用于跷跷板的结构及使用该结构的跷跷板有效
图片尺寸1000x737
幼儿园塑料摇马pe板儿童弹簧摇摇乐双单人跷跷板公园小区游乐设备
图片尺寸750x1054
cn201055640y_弹力高跷失效
图片尺寸800x1162
图示为跷跷板的整体示意图吴同学的创意,到底有何独特之处?
图片尺寸640x415
一种可锻炼式趣味型跷跷板制造技术
图片尺寸1000x827
科学实验——跷跷板
图片尺寸3021x4029
一种跷跷板的制作方法
图片尺寸1000x505