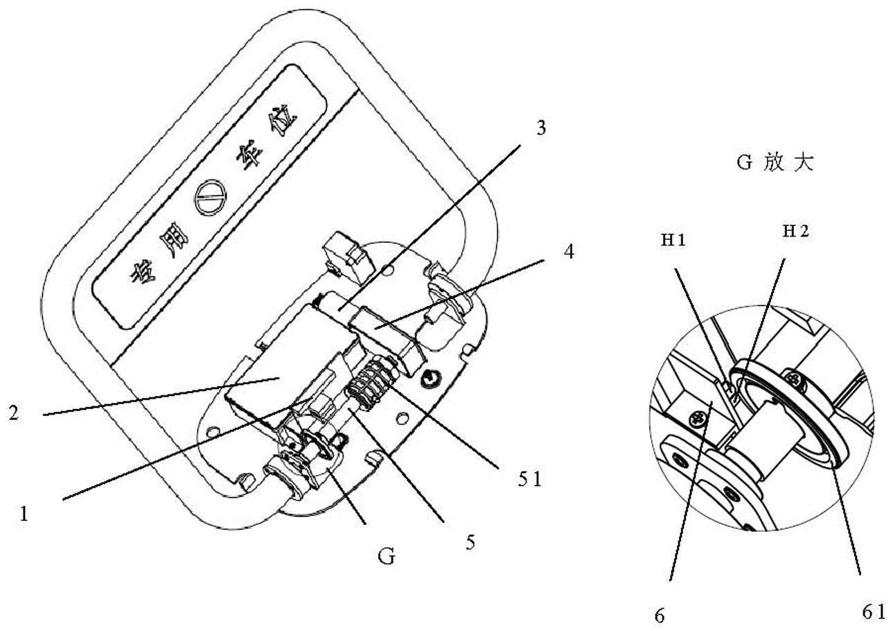
车位锁内部结构

cn200955272y_车位锁失效
图片尺寸1964x2935
汽车后备箱锁的原理图,后备箱打不开怎么修理
图片尺寸640x439
汽车锁芯内部剖视图
图片尺寸800x295
汽车锁芯内部剖视图
图片尺寸799x321
汽车锁芯内部剖视图
图片尺寸800x416
更多精彩视频,尽在汽车之家视频平台可以看出汽车锁块开锁需要的是
图片尺寸620x465
屡修不好的后门锁块
图片尺寸640x426
中控门锁电路问题
图片尺寸638x491
同时通过简洁的结构设计和使车位锁进入休眠状态等方式,降低了电耗,也
图片尺寸1289x910
机械锁块的2种状态拆开门锁块首先我们先研究一下车门锁块原理,以便
图片尺寸640x423
指纹锁锁体内部结构
图片尺寸790x1350
浅析汽车门锁解锁力
图片尺寸822x483
汽车门锁润滑脂对汽车门锁的作用及要求
图片尺寸450x286
一种智能车位锁-爱企查
图片尺寸967x914
一种便于互换边位使用的车位地锁驱动结构-爱企查
图片尺寸800x642
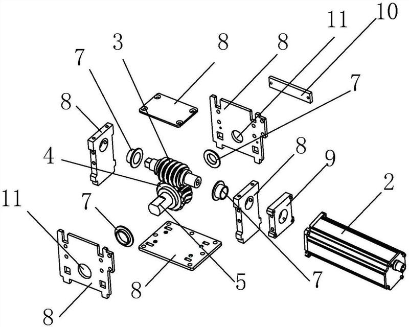
一种智能车位锁用连接结构
图片尺寸1661x1658
一种电动汽车充电站用的车位锁-爱企查
图片尺寸1718x1689
cn112252862a_一种自锁式安全型汽车门锁在审
图片尺寸1786x1276
二十六(4),汽车中央控制电动门锁和防盗装置
图片尺寸471x400
zkcw03平板升降智能车位锁防水防逃费智能锁
图片尺寸785x570