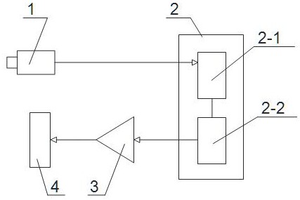
车位锁工作原理图

一种用于智能停车库的车位地锁及其工作方法与流程
图片尺寸1000x701
一种推拉杆式遥控车位锁制造技术
图片尺寸930x1000
一种组合式车位锁-爱企查
图片尺寸800x502
一种电动自行车车位锁-爱企查
图片尺寸1784x1384
一种新型车位锁制造技术
图片尺寸1000x796
一种基于sim卡的共享智能车位锁-爱企查
图片尺寸1652x834
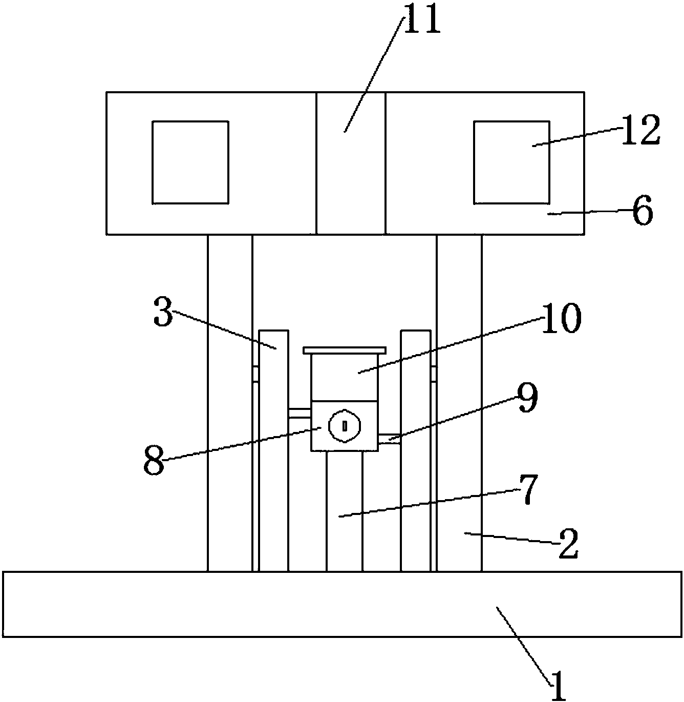
防止别人抢占车位,所以称为地锁,也叫车位锁,由于中国经济的迅猛发展
图片尺寸443x354
一种霍尔感应限位的智能车位锁-爱企查
图片尺寸1289x910
一种智能车位锁
图片尺寸1328x1207
一种耐用安全的车位锁
图片尺寸1336x1370
cn200955272y_车位锁失效
图片尺寸1964x2935
cn107575062a_一种智能地桩锁及具有该锁的单车共享停车技术方案在审
图片尺寸2249x1802
cn201045242y_遥控车位锁失效
图片尺寸2401x1788
一种带车辆探测功能的免密支付车位锁的制作方法
图片尺寸443x370
cn213234627u_一种带紧急解锁功能的公交车锁有效
图片尺寸2289x1807
浅析汽车门锁解锁力
图片尺寸822x483
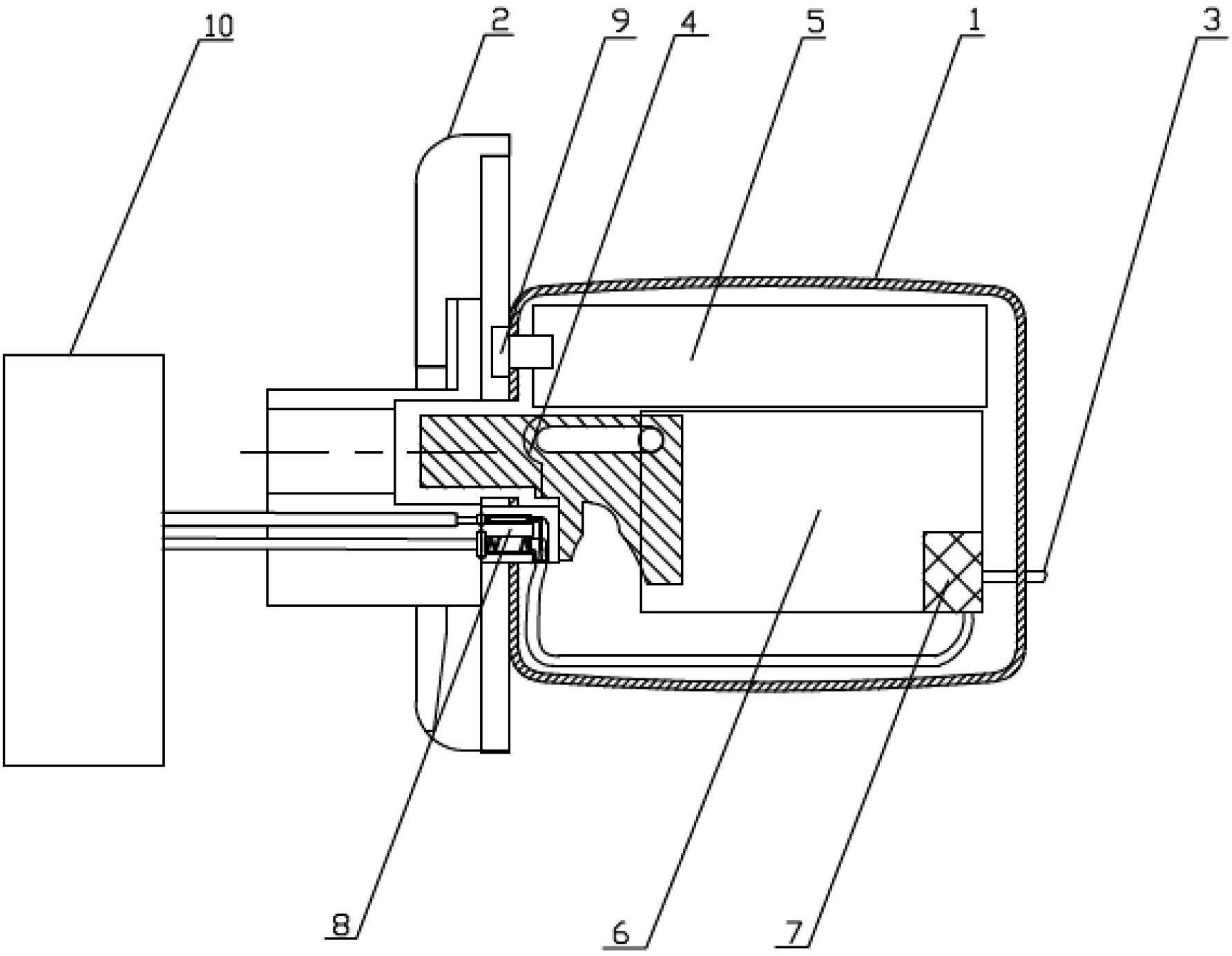
在该车位上不仅设置了常用车位中需要的装置,如地锁,还在该车位上设置
图片尺寸1000x519
一种车位锁制造技术
图片尺寸801x1000
x一种充电桩充电停车位的自动车位锁系统及控制方法-爱企查
图片尺寸427x285
一种基于智能交通的遥控车位锁的制作方法
图片尺寸1000x557