车床尾座拆装步骤

车床尾座的拆装
图片尺寸920x1302
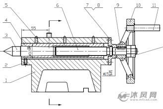
车床尾座的拆卸与装配
图片尺寸1080x810
3)松开尾座架上左 边长把手柄(即逆 时针转动手柄), 转动尾座右端的手
图片尺寸1080x810
ca6140型卧式车床尾座的拆卸与装配
图片尺寸960x720
ca6140车床尾座部件拆卸与装配工艺毕业设计说明书pdf33页
图片尺寸792x1120
帮我分析一下车床尾座结构图(版主悬赏80三维币进行奖励)
图片尺寸2816x2112
车床尾座机构的改进与设计(1)
图片尺寸2400x3300
车床尾座模型
图片尺寸820x636
手动尾座中心高110 加工中心四轴车床尾座顶针尾座 数控车床尾座
图片尺寸800x694
重型车床尾座
图片尺寸528x392
车床尾座工作原理_哔哩哔哩_bilibili
图片尺寸1920x1080
一种步升式刀塔数控车床的尾座结构
图片尺寸2005x2353
给老黄山 cq9330 车床装上个尾座
图片尺寸1095x821
车床尾座装配图与零件图
图片尺寸329x220
数控车床液压尾座结构
图片尺寸2382x1144
花南玉车床尾座木工车床尾座雕刻机旋转轴活数控车尾座回转顶针中心高
图片尺寸855x1140
车床尾座k12
图片尺寸1676x862
c6132机床尾座装配图
图片尺寸840x591
一种机床尾座的制作方法
图片尺寸414x415
车床尾座
图片尺寸800x1067