车床尾座结构原理

一种步升式刀塔数控车床的尾座结构
图片尺寸2005x2353
车床尾座结构图
图片尺寸3507x2480
机械制图与典型零部件测绘 习题答案 第11章拆画仪表车床尾座
图片尺寸1508x2132
ca6140普通车床尾座的拆卸和组装
图片尺寸882x527
车床尾座的拆卸与装配
图片尺寸1080x810
车床尾座机构的改进与设计
图片尺寸2400x3300
数控车床尾座装配图
图片尺寸2338x1653
一种平床身直线导轨数控车床用尾座
图片尺寸1771x1419
一种数控车床的新型尾座
图片尺寸1000x685
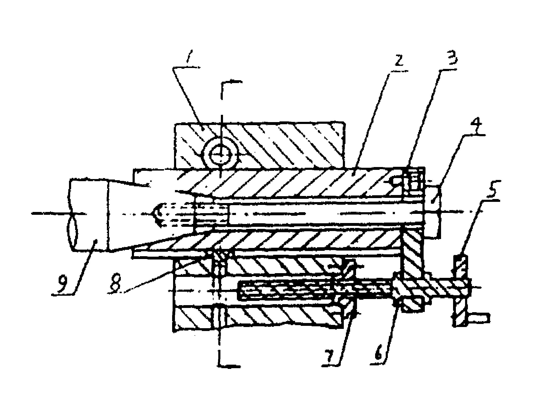
尾座
图片尺寸2519x1348
车床尾座
图片尺寸1000x783
车床尾座机构
图片尺寸2272x1696
一种重型卧式车床尾座移动装置
图片尺寸1227x1167
通过深入探讨车床尾座的工作原理和主要作用,提出了一种总体方案设计
图片尺寸670x458
沈阳机床6140普通车床,尾座筒子新买的,但是进不去怎么办?
图片尺寸874x564
一种外露式液压缸驱动车床尾座
图片尺寸1284x958
本发明涉及机床结构部件领域,具体涉及一种数控车床尾座锁紧机构
图片尺寸1164x1457
一种车床液压尾座的制作方法
图片尺寸1000x561
一种用于燃机叶片的单驱机床尾座机构的制作方法
图片尺寸443x283
一种防止加工变形的数控车床低压尾座的制作方法与工艺
图片尺寸1000x652