车床尾架结构图

帮我分析一下车床尾座结构图(版主悬赏80三维币进行奖励)
图片尺寸2816x2112
车床尾座的拆卸与装配
图片尺寸1080x810
ck6136h车床尾架的结构分析与工艺设计【含cad图纸,说明书】
图片尺寸1200x800
尾架装配图
图片尺寸820x577
cw6163c-0),图纸标注清晰,完整,可供大家学习车床尾座装配结构!
图片尺寸820x433
车床尾架套筒结构图
图片尺寸630x313
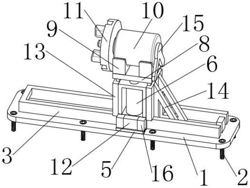
一种重型机床尾架驱动装置
图片尺寸909x552
车床尾座结构图
图片尺寸3507x2480
车床尾架cad设计图
图片尺寸967x597
0设计,带参数.模型为装配文件,详细绘制出仪表车床尾架的各结构细节.
图片尺寸820x328
ca6140车床尾座部件拆卸与装配工艺毕业设计说明书pdf33页
图片尺寸792x1120
车床小车尾架设计
图片尺寸820x560
一种普通车床用自动卡紧车床尾架-爱企查
图片尺寸800x603
车床尾座机构
图片尺寸2272x1696
车床尾架设计
图片尺寸820x589![如图仪表车床尾架装配体共由15个零件组成. [图]. - 上学吧找答案](https://i.ecywang.com/upload/1/img0.baidu.com/it/u=369734133,1626001949&fm=253&fmt=auto&app=138&f=JPG?w=500&h=396)
如图仪表车床尾架装配体共由15个零件组成. [图]. - 上学吧找答案
图片尺寸643x509
磨床尾架介绍与结构分析和万能外圆磨床尾架特点
图片尺寸645x400
沈阳机床6140普通车床,尾座筒子新买的,但是进不去怎么办?
图片尺寸874x564
经典车床ca6140手绘图,有利于认知其结构!
图片尺寸640x453
车床小车尾架设计
图片尺寸820x326