车床支撑架

车床固定中心架
图片尺寸500x500
车床液压中心架安装方法
图片尺寸640x826
青栋车床中心架
图片尺寸530x571
数控机床伺服电机支架固定架车床普车改造附件x轴支架支撑座配件 130
图片尺寸750x744
使用车床中心架的具体步骤.#车床中心架 #车床中心架厂家 # - 抖音
图片尺寸1080x1440
数控机床伺服电机支架固定架车床普车改造附件x轴支架支撑座配件 130
图片尺寸750x723
液压中心架厂家自定心中心架数控车床中心架车床中心架强胜
图片尺寸400x400
适用于沈阳cw6163b车床中心架大连机床扶架安阳6263滚轮轴承耐磨铸铁
图片尺寸790x790
固定在车床身,然后旋转工件,支撑爪触到工件并且均匀触及后再进行锁紧
图片尺寸640x416
主页 行业新闻 专业车床液压中心支架,专业磨床液压中心支架,徐州德证
图片尺寸1440x1080
供应车床中心架,加大支架
图片尺寸750x418
液压撑杆支撑杆气弹簧上翻门气压汽车后备箱气撑床用液压杆床支架
图片尺寸760x760
数控机床伺服电机支架固定架车床普车改造附件x轴支架支撑座配件 130
图片尺寸750x888
适用同琛木工车床中心架轴承支撑架滚轮机床中心架轴承机床中心架滚轮
图片尺寸800x800
高档同琛木工车床中心架轴承支撑架滚轮机床中心架轴承机床中心架
图片尺寸800x800
wm210v小车床中心架 210v加长款用中心架 小车床支撑架
图片尺寸1280x1280
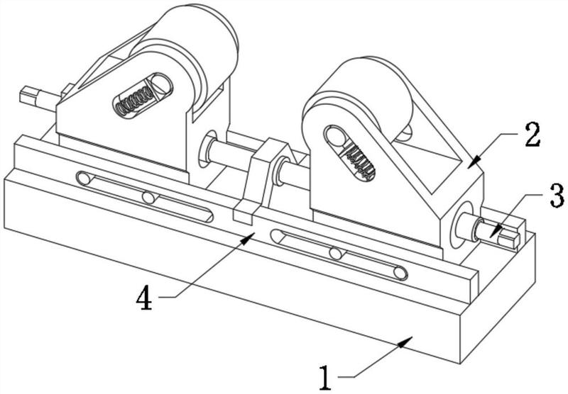
车床托辊装置,包括底座,所述底座的顶部滑动安装有两个支撑机构和两个
图片尺寸800x556
小型数控车床
图片尺寸633x573
定制同琛木工车床中心架轴承支撑架滚轮机床中心架轴承机床中心架滚轮
图片尺寸800x800
中心支架 轧辊车床中心架磨床中心架托架滚轮中心架
图片尺寸750x750