车床机构运动简图

车床主要结构及运动形式
图片尺寸1858x2629
2 卧式车床&立式车床&等
图片尺寸3509x1836
传动机构平面图
图片尺寸1783x2139
普通车床故障诊断与维修
图片尺寸981x736
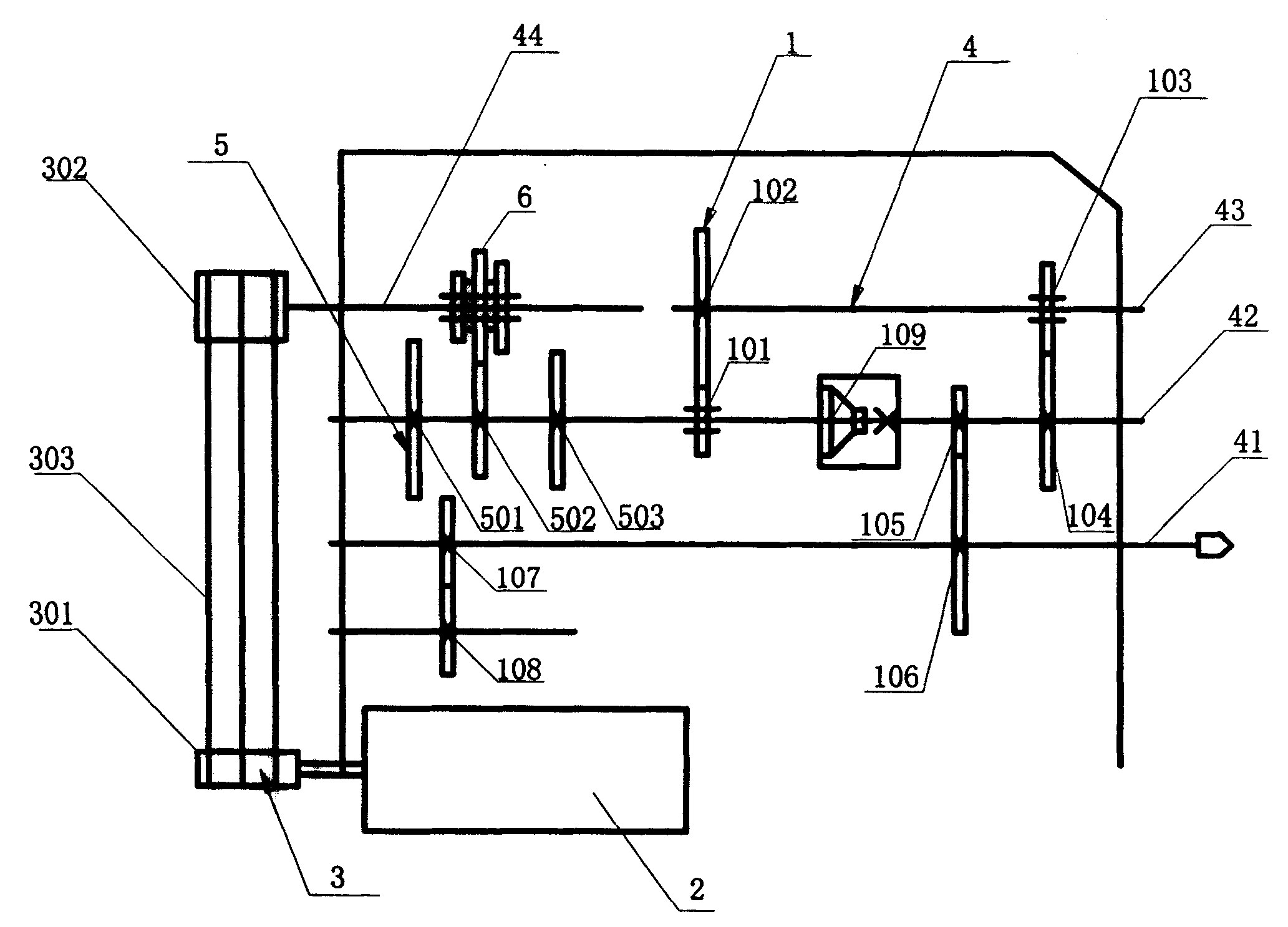
右图为某车床的主运动传动系统图
图片尺寸646x376
项目2122车床的传动系统
图片尺寸920x690
《机械制造技术基础》机床传动系统
图片尺寸1152x720
普通车床ca6140传动机构设计
图片尺寸1254x896
机械制造技术(机械制造工程原理)机床传动链路线图讲解
图片尺寸4608x2880
你所没有见过的超大型车床!可以路过瞧一下?
图片尺寸500x334
机床的运动
图片尺寸528x414
平面机构运动简图及自由度知识点
图片尺寸594x500
应用卧式车床车削工件外圆表面时,其中车削运动的主运动由
图片尺寸445x317
西交机械考研
图片尺寸1440x1080
图1-1 ca6140普通车床结构简图1.2问答题1.2
图片尺寸1013x604
变频电机驱动车床主传动系统
图片尺寸2065x1487
机床的传动联系ppt
图片尺寸1080x810
1 平面机构运动简图和自由度 习习题答案
图片尺寸920x1302
谁说车床只能车"圆"的,我车一个"方"的试试!
图片尺寸855x459
8种常见的车床结构车床的结构及控制分析值得保存学习
图片尺寸640x480