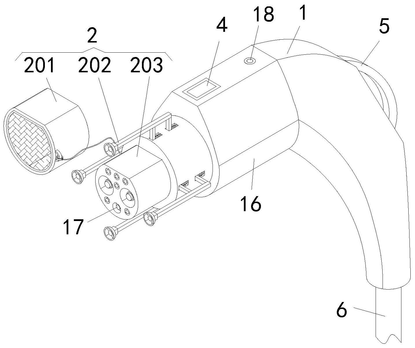
车载充电器接头结构

电动汽车充电技术充电接口
图片尺寸2126x1100
纯电动汽车充电系统工作过程及常见故障检修
图片尺寸1252x701
一种电动汽车交流充电插头制造技术
图片尺寸1000x753
国标交流32a车端充电插头交流充电桩带枪充电线车端供电端枪头线_双氙
图片尺寸948x643
电动汽车充电口浅析
图片尺寸2272x1563
纯电动汽车充电系统工作过程及常见故障检修
图片尺寸1160x688
1a 三星车载充电器 车载充电器双usb .
图片尺寸600x550
一种新型电动汽车大电流快速充电插头
图片尺寸1000x906
充电枪cc和cp功能讲解!_哔哩哔哩_bilibili
图片尺寸1920x1080
车载充电器 迷你单usb汽车充电器子弹头车充 通用车充 彩色车充
图片尺寸750x622
种防线束缠绕的新能源汽车充电桩可调式插头
图片尺寸1433x1203
电动汽车充电接口出台的前世今生
图片尺寸422x351
实测下雨天电动车充电是否有危险
图片尺寸750x642
新能源汽车充电连接器 带线连接器16a 32a充欧规5芯ev充电枪
图片尺寸565x404
电动汽车充电系统技术规范 第7部分:非车载充电机充电接口
图片尺寸744x507
非车载充电部件1.便携式充电电缆及其充电头(一级交流充电)2.
图片尺寸1102x808
手机汽车通用车载充电器万能型点烟器式转双usb接口车充
图片尺寸750x1000
电动汽车传导充电用连接装置中对电动汽车充电接口标识,温度,结构要求
图片尺寸700x398
车载交流充放电机的充放电接口,以及充电桩充放电接口的制作方法
图片尺寸990x1000
适于电动汽车的充电口组件的制作方法
图片尺寸1000x729