车载摄像头结构

车载摄像头主要的硬件结构包括光学镜头(其中包含光学镜片,滤光片
图片尺寸1120x661
车载摄像头源头工厂 粉丝 199 获赞 718 关注 倒车摄像头的内部结构
图片尺寸768x1498
part 1 环视摄像头
图片尺寸1080x671
cmos 图像传感器是摄像头模组的核心元器件, 对摄像头的光线感知和
图片尺寸1260x844
3m胶粘技术在车载摄像头模组中的作用结束语近几年,无论是汽车激光
图片尺寸602x310
浅谈一下车载摄像头模组封装材料_图像_汽车_的要求
图片尺寸1240x796
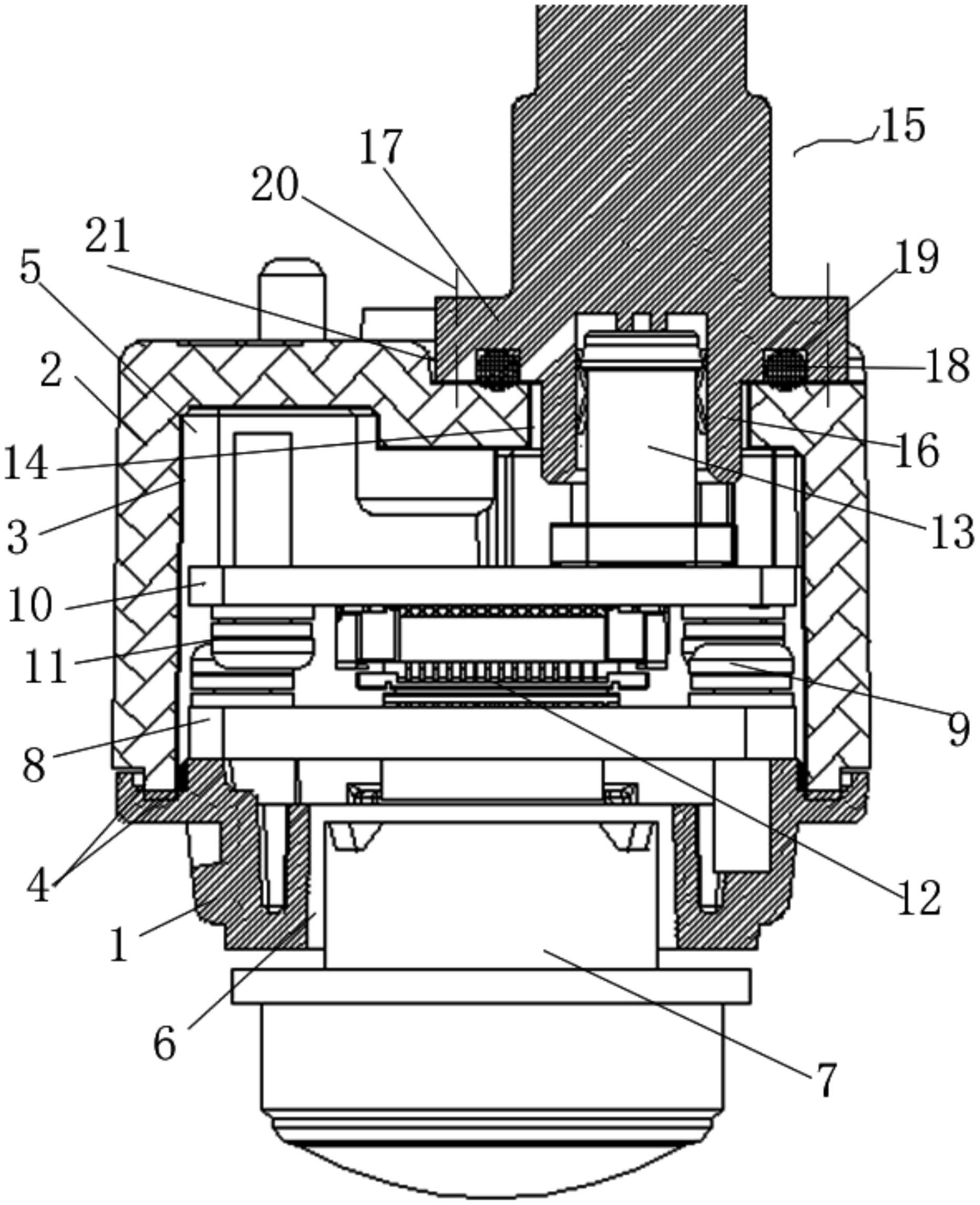
图摘要本实用新型提供了一种车载高清摄像头,其使得屏蔽防水结构简单
图片尺寸1863x2291
车载摄像头产业分析报告:车载摄像头基础解析(一)
图片尺寸1080x460
典型的摄像机主要由镜头,图像传感器,视频监控芯片,phy,存储器,电源
图片尺寸586x369
一种利于散热的车载摄像头制造技术
图片尺寸938x1000
一种车载摄像头结构的制作方法
图片尺寸1729x2200
箩筐分享|一文梳理车载摄像头技术|cmos|镜头|辐射|夜视_网易订阅
图片尺寸660x456
闻泰科技推出车载左右外后视镜摄像头(cms摄像头)
图片尺寸1080x354
汽车摄像头模组专用胶,aa摄像头制程用胶768,双重固化模组胶
图片尺寸790x931
一种车载高清前视摄像头
图片尺寸1652x1582
箩筐分享一文梳理车载摄像头技术
图片尺寸1070x638
摄像头模组组装图解_图像_镜头_传感器
图片尺寸2800x2500
整个车载摄像头模组分为几个不同的较大模块,按照布置的不同区域以及
图片尺寸1080x583
摄像头零组件构成
图片尺寸1171x531
一种车载摄像头的制作方法
图片尺寸1000x956