车门限位器结构

车门限位器,解决关车门回弹力量小的问题
图片尺寸642x321
生产后不能随意调节开闭车门的限位力,不同车型可能需要重新设计结构
图片尺寸1000x549
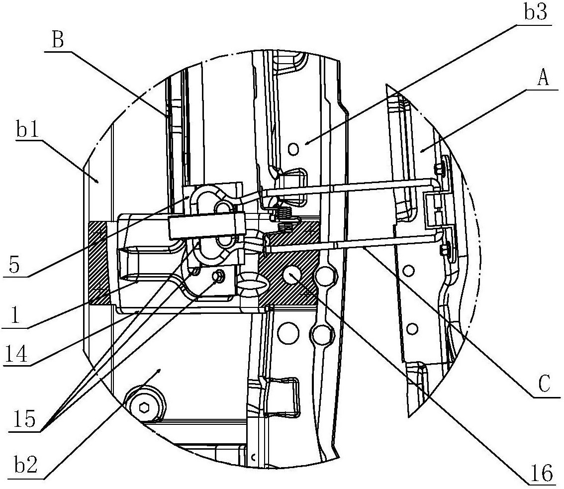
一种汽车车门限位器安装结构的制作方法
图片尺寸1000x812
一种具有排水功能的车门限位器的制作方法
图片尺寸981x1000
到底谁安全车门铰链限位器结构浅析
图片尺寸800x534
汽车实用手册20谈车门铰链限位器
图片尺寸620x684
1,车门的结构现如今开车的人们越来越多,但是很多人在开车时都会有
图片尺寸1080x649
车门铰链/限位器结构浅析
图片尺寸600x401
一种限位器的轻量化结构的制作方法
图片尺寸990x588
一种具有缓冲结构的车门限位器
图片尺寸1331x1583
车门限位器异响解决方法
图片尺寸608x439
车门开关异响,在铰链和限位器处喷几下,异响不见了.
图片尺寸640x624
到底谁安全车门铰链限位器结构浅析
图片尺寸600x560
汽车实用手册 谈车门铰链/限位器
图片尺寸620x465
裕齐祥适用于新老款逍客/奇骏车门限位器奇骏前车门限位器逍客前后门
图片尺寸800x800
周陌适用于现代悦动车门限位器前后左右定位器连接杆限定器原厂悦动左
图片尺寸800x800
车门异响是什么原因?|汽车|密封条|限位器|铰链_网易订阅
图片尺寸570x402
另外,把车门和车身连接在一起的有两种零件,一个叫铰链,一个叫限位器.
图片尺寸698x438
一种车门限位器安装加强结构-爱企查
图片尺寸1134x983
途观车门铰链处有没有车门限位器
图片尺寸600x400