车门限位器结构图

汽车实用手册 谈车门铰链/限位器
图片尺寸620x477
车门限位器的制作方法
图片尺寸1000x549
一种车门限位器结构的制作方法
图片尺寸1000x755
一种汽车车门玻璃限位结构的制作方法
图片尺寸1000x897
一种车门限位器安装加强结构-爱企查
图片尺寸1134x983
车门限位器组件用于将车门和车身进行连接,并在车门打开时进行临时性
图片尺寸990x588
被遗忘的角落 解读车门铰链/限位器种类
图片尺寸908x605
这种情况一般是车门铰链或者限位器发出的声音,大部分情况下都是不够
图片尺寸598x376
一种车门限位器的制作方法与工艺
图片尺寸1000x637
到底谁安全车门铰链限位器结构浅析
图片尺寸600x401
一种水平限位器
图片尺寸1742x1602
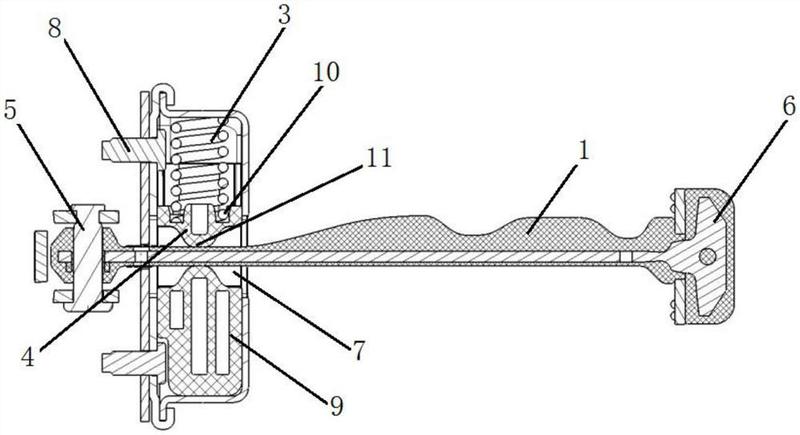
一种车门限位器,包括安装支架,所述安装支架包括,安装基板,为板状结构
图片尺寸800x688
cn204357231u_车门限位器安装结构有效
图片尺寸1000x531
一种汽车车门限位器安装结构的制作方法
图片尺寸1000x812
一种车门限位器结构及汽车-爱企查
图片尺寸800x435
车门限位器制造技术
图片尺寸1000x513
直销供应小区停车场高速道闸 停车场智能道闸 直杆道闸
图片尺寸924x544
cn207772849u_一种侧滑门限位结构及汽车有效
图片尺寸1431x1142
一种车门开启限位器的排尘结构-爱企查
图片尺寸800x690
供应机械限位mg,电子限位eg车库门机
图片尺寸549x344