转台结构图

数控转台优化设计的分析与实验研究
图片尺寸1316x945
数控回转工作台结构图
图片尺寸920x1303
转台结构.png
图片尺寸600x287
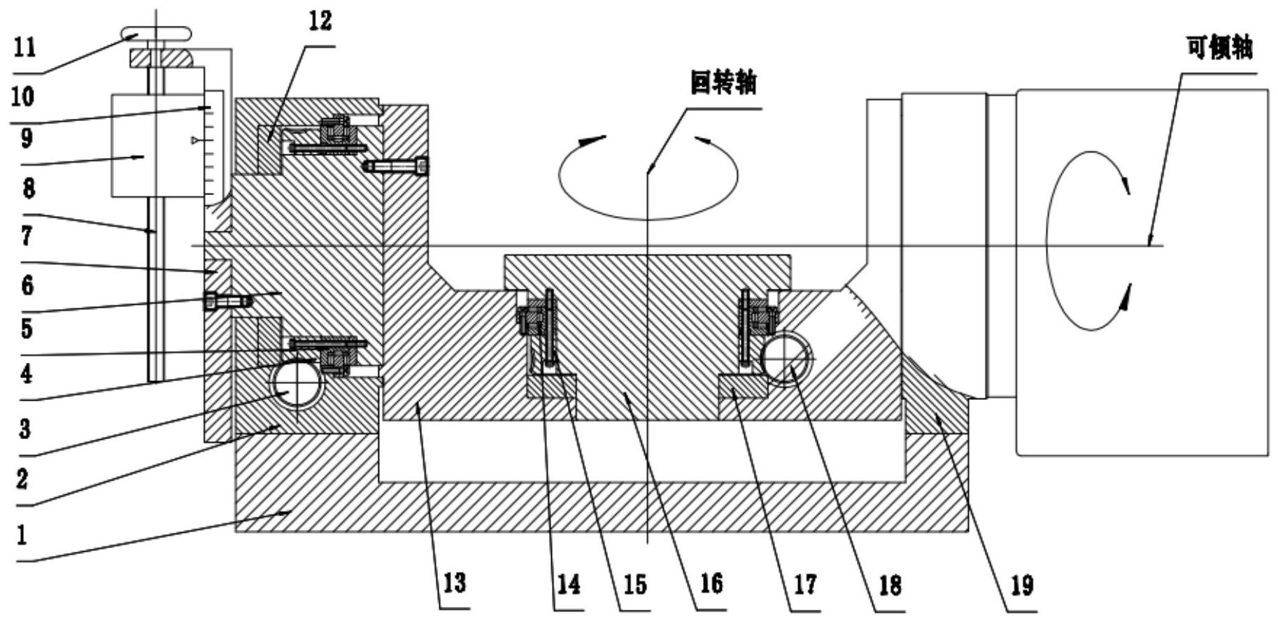
卧式精密数控转台
图片尺寸1956x1564
cn112658783a_一种直驱式精密转台装置
图片尺寸1000x714
卡斯文立式转台,卡斯文蜗轮蜗杆卧式转台,高端滴滴马达定制转台-分度
图片尺寸959x856
旋转台的两种结构设计
图片尺寸1152x719
cn101596680b_一种高精度立式工作转台有效
图片尺寸2498x1276
7sra1100t电动旋转台,7sra1100t电动旋转台参数-北
图片尺寸660x541
一种超宽速度范围的高精度单轴转台
图片尺寸1723x2089
cn100534706c_一种可液浸数控转台失效
图片尺寸1886x2135
机械加工机床金属加工设备的制造及其加工应用技术
图片尺寸727x1000
一种大型直驱数控转台
图片尺寸1914x955
cn201346705y_直驱式双轴精密转台有效
图片尺寸800x501
数控回转工作台
图片尺寸732x531
一种用于加工多角度特征零件的回转工作台
图片尺寸1784x947
cn207358587u_一种力矩电机直驱式数控转台有效
图片尺寸1854x1573
本实用新型公开了一种重负载高精度转台,包括:大齿
图片尺寸1000x669
一种两轴摇篮式数控转台
图片尺寸1827x891
车铣复合转台结构
图片尺寸1665x1192