转向管柱结构

转向管柱
图片尺寸820x484
无锡转向系统用管-汽车转向柱钢管-无锡法斯特海元钢管有限公司
图片尺寸706x518
转向柱厂家介绍转向系统的组成
图片尺寸884x606
一种转向管柱
图片尺寸1712x1724
一种suv可调转向管柱
图片尺寸342x443
一种汽车用转向管柱-爱企查
图片尺寸1595x859
防侧翻气动转向管柱总成的制作方法
图片尺寸878x1000
一种大功率电动助力转向管柱 本技术涉及汽车结构
图片尺寸1000x800
转向管柱中的秘密你知道吗
图片尺寸579x350
汽车转向管柱溃缩滑动力有限元分析
图片尺寸965x493
车辆及其转向管柱总成
图片尺寸2543x1324
转向管柱(上)
图片尺寸598x576
cn106114606a_一种防止怠速抖动的汽车转向管柱结构有效
图片尺寸832x1000
转向管柱(下)
图片尺寸627x621
车辆及其转向管柱总成的制作方法
图片尺寸523x1000
能补偿间隙的汽车转向管柱总成-爱企查
图片尺寸1896x899
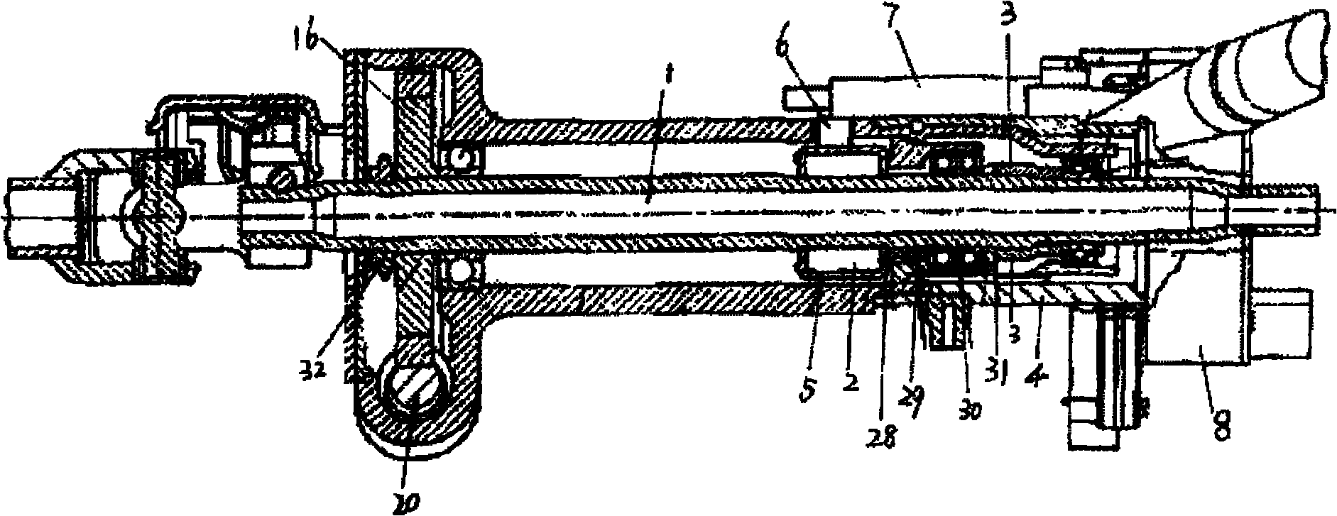
转向管柱
图片尺寸886x1211
一种装有非接触式扭矩传感器的转向管柱
图片尺寸1883x727
转向管柱带中间轴总成设计指南
图片尺寸920x1302
第四章 汽车底盘的保养与维护第五节 转向系统的保养与维护
图片尺寸523x372