转换层图集

吊顶钢结构转换层cad节点图片下载_红动中国
图片尺寸1024x2456
吊顶转换层规范要求
图片尺寸750x400
03,转换层的标准做法: 03-1 钢架转换层 安装注意事项: ① 转换层
图片尺寸1822x1280
高层建筑的结构转换层-主体结构-筑龙建筑施工论坛
图片尺寸686x517
转换层(加强层)结构形式及设计要点-主体结构-筑龙建筑施工论坛
图片尺寸636x480
转换层(加强层)结构形式及设计要点-结构培训讲义-筑龙结构设计论坛
图片尺寸652x493
✔️吊顶钢转换层|反支撑节点详图及说明 适合高大空间的吊顶设计
图片尺寸1628x1280
某高层建筑结构厚板转换层的设计_文档下载
图片尺寸1890x901
住宅转换层_筑龙网
图片尺寸516x448
某高位箱形转换层节点构造详图_通用节点详图_土木在线
图片尺寸610x861
转换层施工方案 精品-学路网-学习路上 有我相伴
图片尺寸935x560
80%的设计师都会搞错的反支撑和转换层,原来是这样的!_dop设计-商业新
图片尺寸670x444
一种钢结构转换层专利_专利申请于2021-03-15_专利查询 - 天眼查
图片尺寸941x1000
反支撑(吊顶转换层)方案.doc 文档全文预览
图片尺寸792x1120
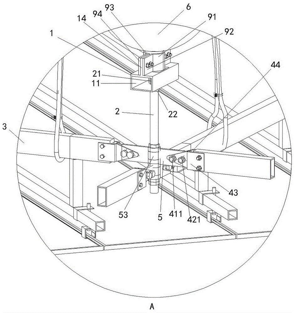
天花吊顶转换层结构的制作方法
图片尺寸1000x839
某大型商业结构与地铁车辆段结构连接的分析-结构专业论文-筑龙结构设
图片尺寸760x844
装饰装修材料与构造(八)
图片尺寸1080x471
转换层(加强层)结构形式及设计要点-结构培训讲义-筑龙结构设计论坛
图片尺寸654x485
吊顶钢架转换层,是否可以套用天花角钢吊架制作的定额子目,再调整相应
图片尺寸1150x883
某地超高层公寓转换层节点详图cad图纸_土木在线
图片尺寸610x431