转炉托圈

150吨转炉托圈本体
图片尺寸710x600
120吨转炉托圈本体
图片尺寸710x600
60吨转炉托圈本体
图片尺寸710x600
2米内热式活性炭转炉托轮活性炭转炉托轮生产销售
图片尺寸3648x2736
6米回转炉托轮,干燥窑托轮一件批发
图片尺寸1216x912
20米椰壳活性炭干燥机转炉托轮分体式大齿圈免费测量
图片尺寸750x750
8x22米活性炭转炉托轮活性炭转炉滚圈
图片尺寸800x800
炉圈 柴火炉圈 柴炉圈 柴火灶圈 炉子圈 炉子配件 加工各种炉圈
图片尺寸1024x768
18米椰壳活性炭转炉托轮
图片尺寸750x750
湛江钢铁三高炉系统炼钢工程4#转炉设备
图片尺寸1154x865
转炉托圈正在制造中
图片尺寸670x369
锅圈灶圈农村土灶柴火炉配件火灶炉圈柴火炉圈燃气灶铁圈煲圈 1个内径
图片尺寸800x800
电陶炉灶具炉具配件288平钢圈火锅炉下沉钢圈
图片尺寸698x1243
电热圈
图片尺寸670x502
159梯形托辊胶圈 高密度阻燃托辊胶圈现货大全
图片尺寸1920x1920
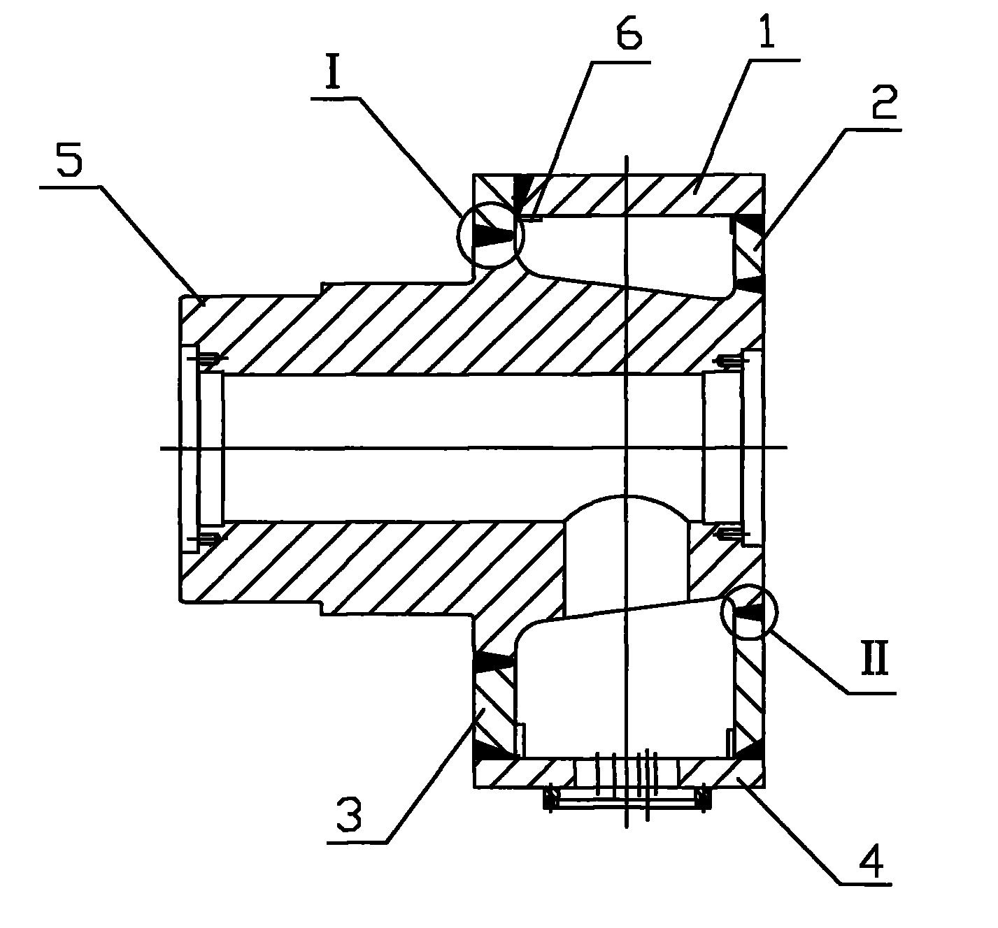
一种u型开口结构的转炉托圈-爱企查
图片尺寸1427x1328
5米回转窑滚圈生产厂家一『永达机械』
图片尺寸533x400
5米干燥回转窑大齿圈滚圈拖轮厂家
图片尺寸1440x1080
活性炭转炉托轮烘干机拖轮调心式回转窑配件
图片尺寸1280x960
18米椰壳活性炭转炉托轮
图片尺寸750x750