转炉氧枪结构图

> 毕业论文 氧枪是转炉供氧的主要设备,它是由喷嘴,枪身和尾部结构
图片尺寸644x1308
a—转炉氧枪喷头;b—转炉双流氧枪喷头;c—转炉分流氧枪喷头;d—平炉
图片尺寸600x331
转炉氧枪图纸
图片尺寸4677x3307
转炉炼钢用双层分流氧枪-爱企查
图片尺寸1440x2212
cn209260126u_一种转炉用氧枪有效
图片尺寸977x1000
一种转炉水冷氧枪
图片尺寸693x1000
转炉及其氧枪系统
图片尺寸600x772
中央氧枪
图片尺寸268x333
氧气顶吹转炉氧枪
图片尺寸1080x810
一种转炉水冷氧枪的制作方法
图片尺寸697x1000
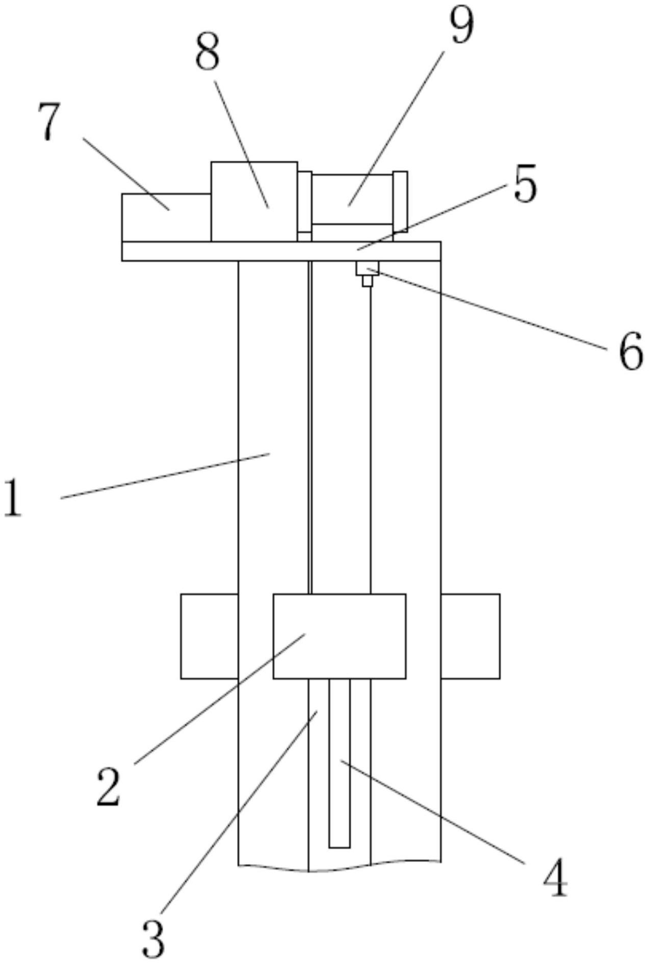
一种带有高度检测装置的转炉氧枪结构
图片尺寸1273x1890
转炉氧枪简图
图片尺寸1113x740
一种顶吹氧气转炉炼钢法及该方法使用的氧枪
图片尺寸1888x1728
转炉炼钢用氧枪的制作方法
图片尺寸1000x913
一种转炉氧枪快速连接装置的制作方法
图片尺寸776x1000
一种用于转炉炼钢氧枪的快换装置
图片尺寸1346x2274
转炉主枪,副枪位置示意图
图片尺寸487x814
cn201540033u_一种氧枪快换装置有效
图片尺寸1270x2365
cn203148231u_一种氧枪装置有效
图片尺寸1000x604
60吨转炉氧枪横移定位装置全套图纸
图片尺寸865x619