转炉烟罩结构图

cn110306006a_转炉和用于转炉的环保烟罩在审
图片尺寸1000x793
120吨转炉活动烟罩改造图
图片尺寸820x584
转炉烟气 - 钢铁百科
图片尺寸600x843
转炉活动烟罩-爱企查
图片尺寸458x439
cn2934251y_一种转炉活动烟罩密封装置失效
图片尺寸1157x1025
一种改进烟罩结构的高温回转炉的制作方法
图片尺寸401x443
转炉烟罩和具有其的转炉系统的制作方法
图片尺寸1325x1993
一种具有除油净污功能的油网烟罩
图片尺寸1950x1676
转炉和用于转炉的环保烟罩的制作方法
图片尺寸1000x793
60吨转炉汽化二段烟罩
图片尺寸873x609
一种新型的转炉烟罩升降横移装置制造方法及图纸
图片尺寸987x1000
35张ppt详解转炉,电炉,炉外精炼用耐火材料!
图片尺寸960x720
一种转炉活动烟罩的连接装置-爱企查
图片尺寸1327x1417
一种转炉余热锅炉用活动烟罩
图片尺寸2060x1469
贝塞麦转炉结构示意图
图片尺寸300x261
一种炉台可旋转加热均匀的罩式退火炉
图片尺寸1771x1848
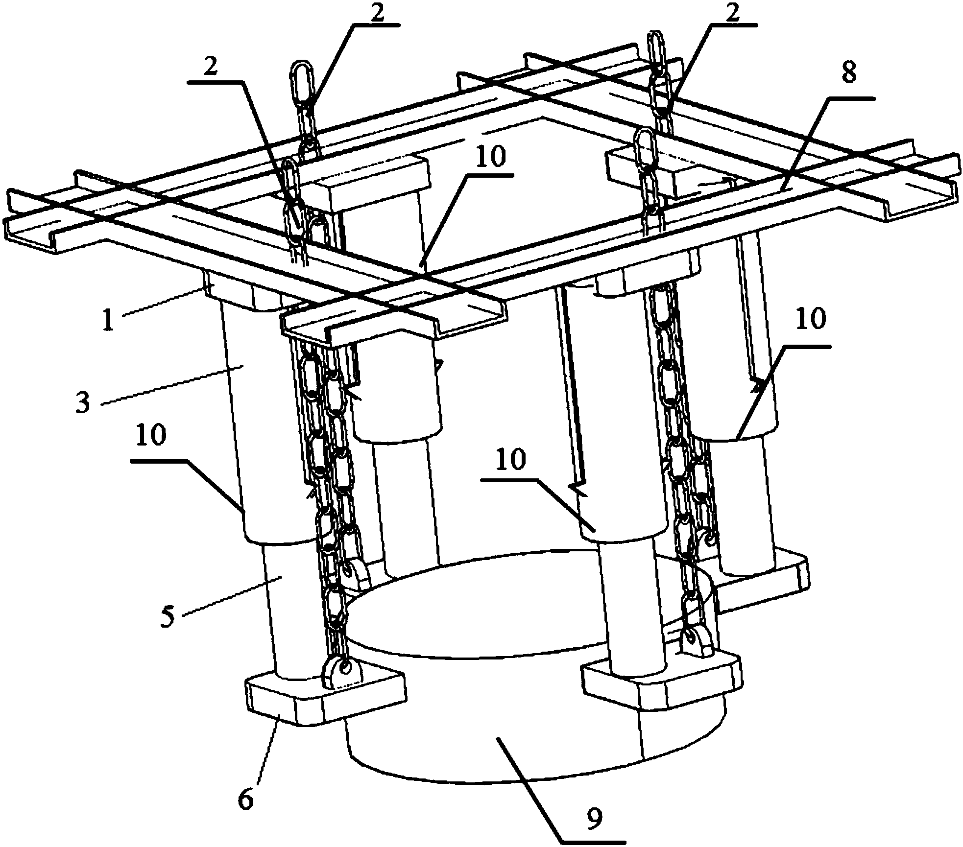
一种转炉活动烟罩定位及防坠落装置
图片尺寸1966x1730
转炉活动烟罩柔性连接原理
图片尺寸824x608
60吨转炉汽化活动烟罩
图片尺寸1291x608
转炉炉体与托圈的连接装置-爱企查
图片尺寸1726x1677