转盘结构图

cn206785049u_平面移动类立体车库用转盘有效
图片尺寸1000x935
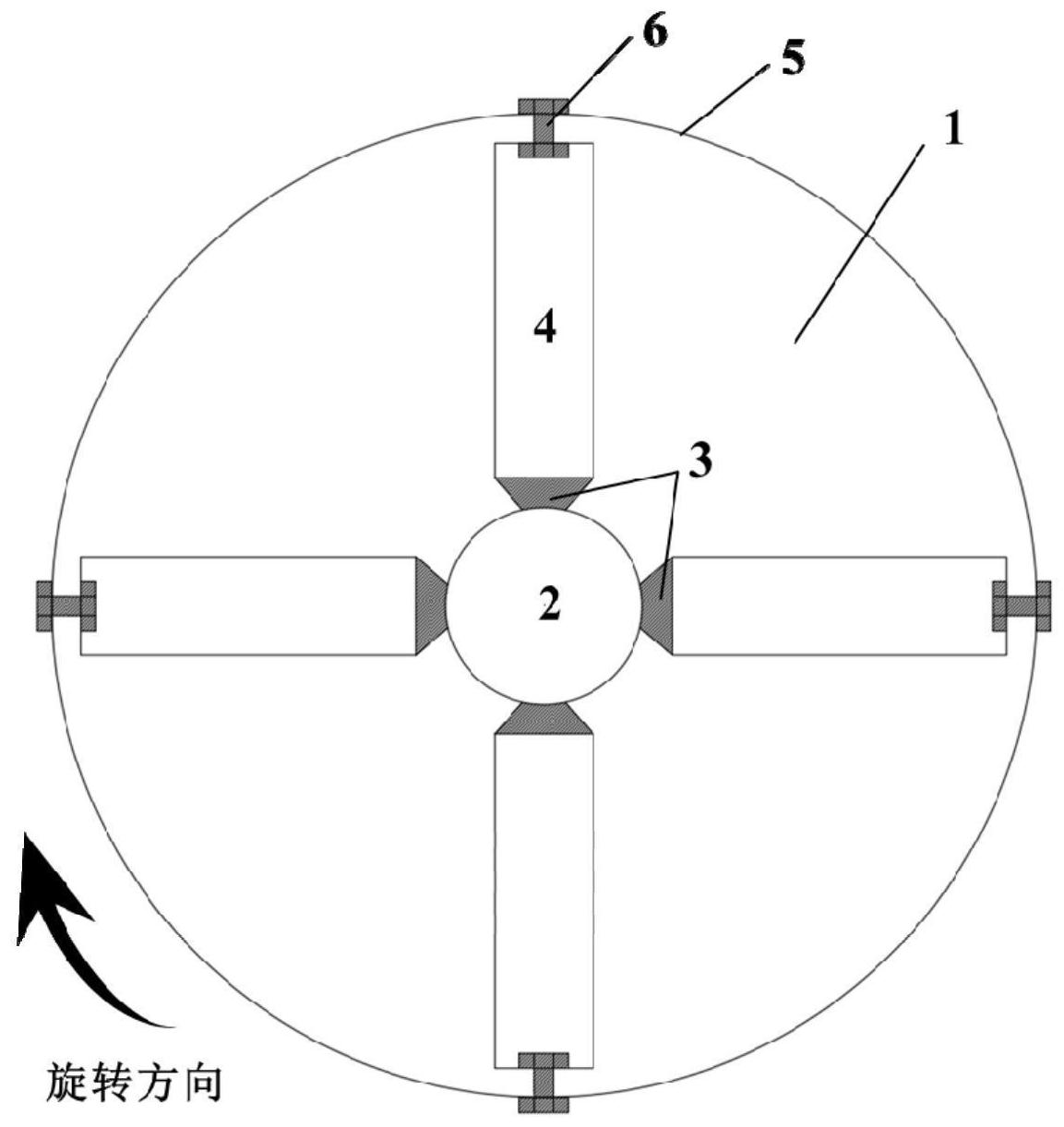
稳定转动的转盘结构的制作方法
图片尺寸1000x944
cn210941444u_稳定转动的转盘结构有效
图片尺寸1000x944
一种具有快速换模装置的双色注塑机转盘机构
图片尺寸1759x2212
一种搬运车的转盘结构及其装配方法与流程
图片尺寸1000x529
转盘机构的制作方法
图片尺寸1000x857
主动轮 锥型套结构通过同步带进行传动;大带轮带动整个转盘转动
图片尺寸622x540
一种包装机械的转盘结构制造技术
图片尺寸904x1000
一种简易英语单词记忆转盘
图片尺寸1767x1129
具有过滤结构的生物转盘
图片尺寸1000x707
一种可提高挂膜量的生物转盘盘片的制作方法
图片尺寸1000x938
第十讲好氧生物膜法生物转盘ppt
图片尺寸800x600
双色机转盘结构的制作方法
图片尺寸995x904
本实用新型公开了一种新型旋转盘组件,包括底盘,电机
图片尺寸1977x1899
一种农村生活污水处理用一体化生物转盘
图片尺寸1730x1021
双基座齿轮式通风转盘结构的制作方法
图片尺寸1000x910
一种可调通道方位的透平冷却转盘结构
图片尺寸1153x1221
主动轮 锥型套结构通过同步带进行传动;大带轮带动整个转盘转动
图片尺寸677x604
圆转盘驱动功率会随支撑轮的半径增加而增加不符合能量守恒?
图片尺寸709x495
麻将机转盘结构-爱企查
图片尺寸1524x1398