转轴画图片大全

喜鹊转轴画动物画花鸟画
图片尺寸367x628
步步高升竹子图蔚县手工剪纸画轴卷挂轴家居装饰礼品民间工艺品
图片尺寸625x500
丝绸轴画征战国画挂画新品工笔人物汉朝将士李广将军画影视道具
图片尺寸652x800
山鹰#黄胄轴画作品欣赏 - 抖音
图片尺寸1440x1920
(18)中式山水画卷轴画挂画字画国画sketchup草图模型下载
图片尺寸1658x866
定制油画布无纺布实木挂墙轴画做儿童艺术结婚照相片动漫海报制作
图片尺寸800x800
b贵州蜡染装饰画少数民族特色工艺品转轴画客厅挂画礼品春夏秋冬已售
图片尺寸750x750
清代传世山水画20幅
图片尺寸600x1111
天津杨柳青年画手绘轴画莲年有余民间特色手工艺装饰画中国风礼品
图片尺寸800x800
训练项目六:正等轴测图绘制
图片尺寸423x360
红泥坊天津杨柳青年画 寿比南山 手绘轴画寿星老送长辈父母装饰字画
图片尺寸800x800
江上渔隐夏布轴画
图片尺寸800x800
四幅画轴已画完 - 抖音
图片尺寸1440x1920
贵州蜡染装饰画民族风加厚布艺转轴画苗族特色工艺品客厅送老外礼
图片尺寸750x750
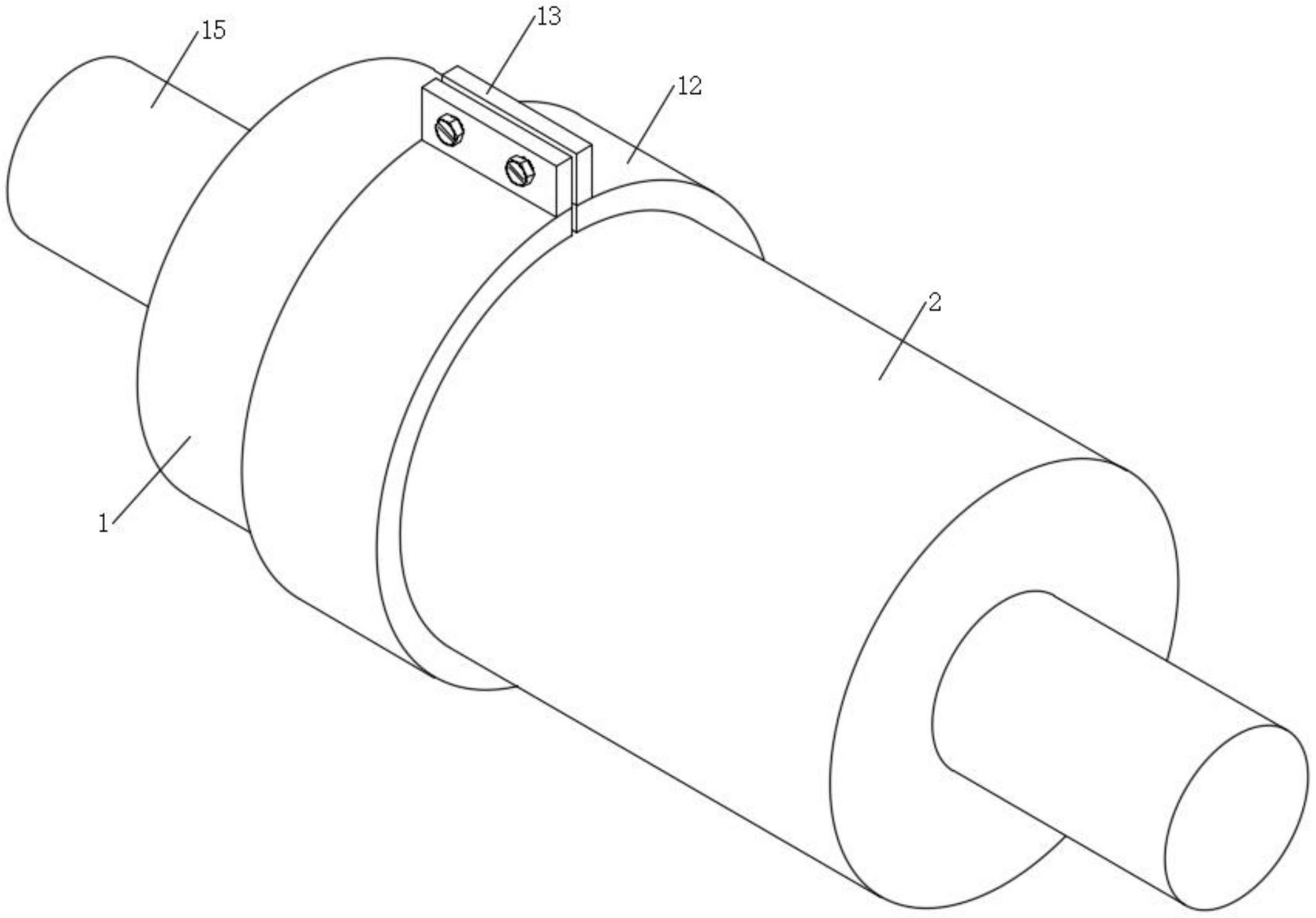
一种转轴制造技术
图片尺寸1000x786
cn213379299u_一种合金转轴有效
图片尺寸2057x1435
书轴卷轴简笔画 简笔画图片大全-蒲城教育文学网
图片尺寸376x500
贵州蜡染装饰画少数民族特色工艺品转轴画客厅挂画礼品春夏秋冬套
图片尺寸750x750
藏村《文殊菩萨》手绘唐卡挂画 佛教装饰画居家供奉佛像转轴佛挂画 单
图片尺寸800x800
太上老君画像清静经挂画五岳真形图挂图绢丝卷轴画 太上老君1 3x45
图片尺寸800x800