轮对示意图

铁道车辆轮对结构的演变与重要性
图片尺寸563x412
一种高速动车组轮对的除漆工艺
图片尺寸1948x1185
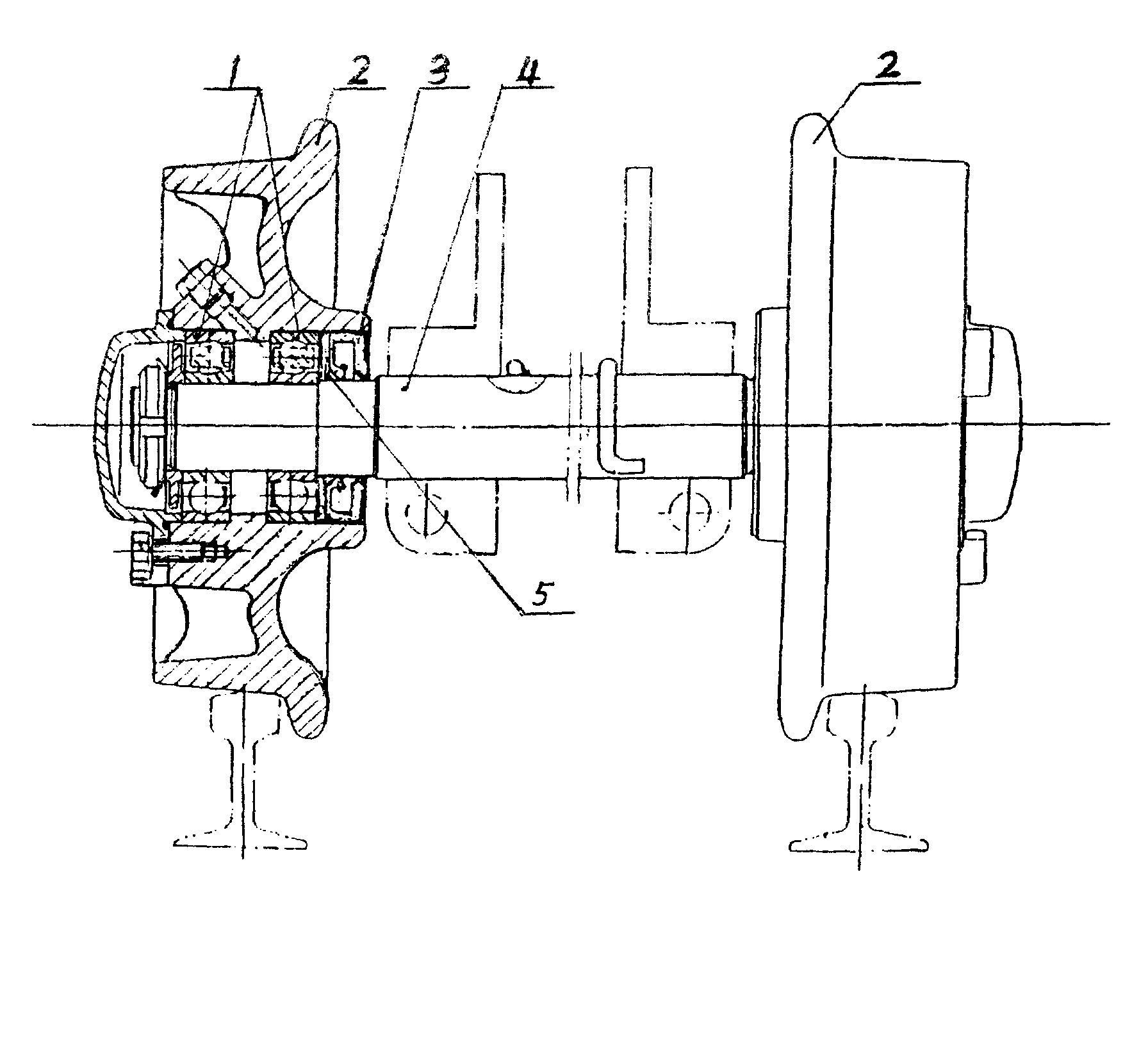
轮对是由一根车轴 和 两个相同 的车轮按规定的过
图片尺寸1080x810
动车组转向架ppt
图片尺寸1080x810
图片尺寸1760x2205
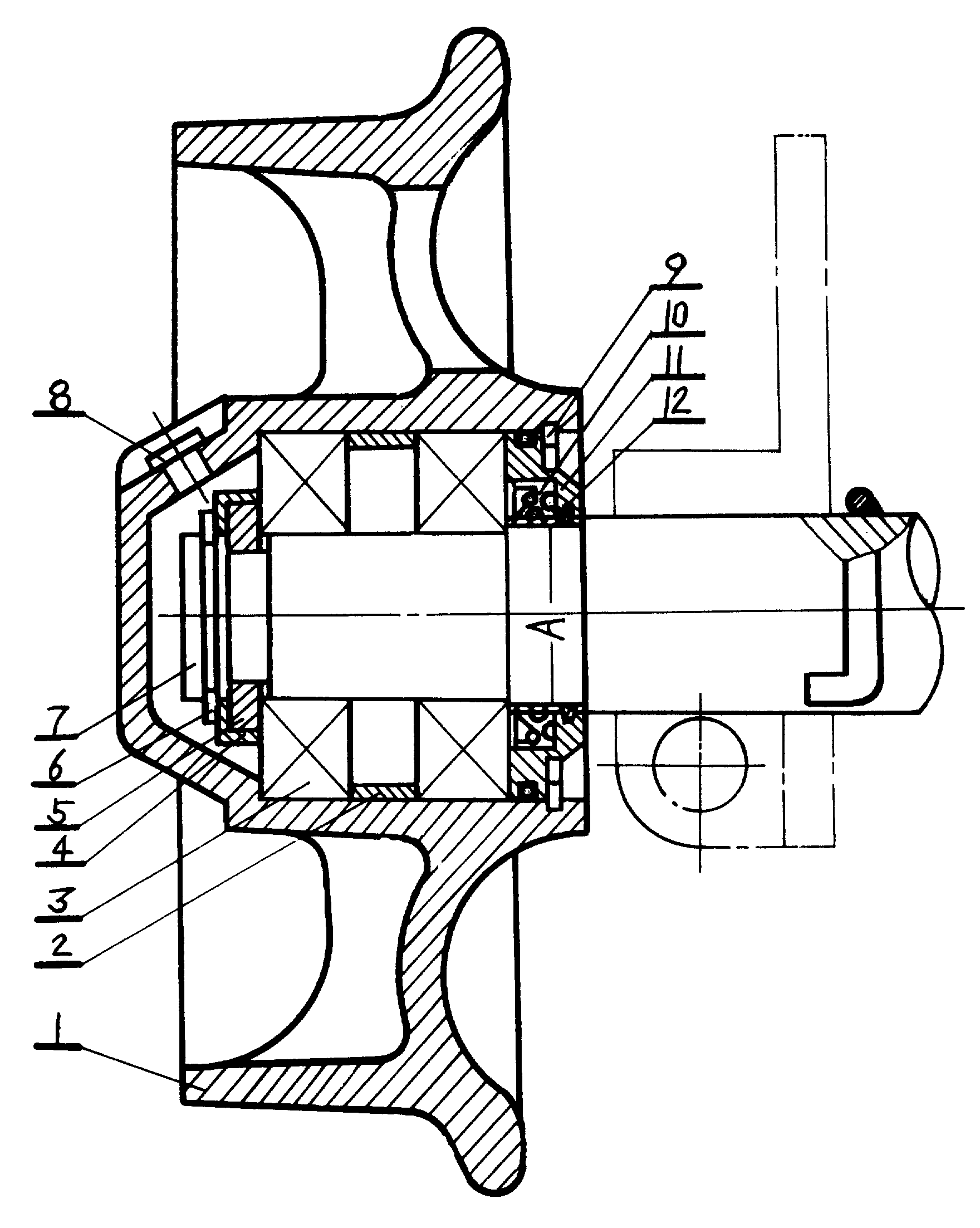
下图是货车轮对的剖视图,其中"6"所指的是
图片尺寸341x232
摘要附图摘要本实用新型涉及一种火车轮对的单层包装
图片尺寸1230x1200
09级crh2动车组轮对与弹簧设计
图片尺寸970x773
轮轨接触几何
图片尺寸865x628
车辆装置的制造及其改造技术
图片尺寸344x1000
干货|专家解码机车车辆轮对两大新技术
图片尺寸1068x1007
机车轮对
图片尺寸300x195
铁道车辆轮对结构与轮轨接触几何关系
图片尺寸1080x810
本实用新型属于矿用车辆一种矿车轮对,由主轴,车轮
图片尺寸1792x1635
动车组轮对及轴箱装置
图片尺寸1080x810
摘要附图摘要本发明公开了一种高速列车轮对力载荷的
图片尺寸1733x1173
动车组轮对及轴箱装置ppt
图片尺寸1080x810
crh2转向架ppt
图片尺寸1080x810
用于轴箱内置式转向架的内置式轮对组成属于轴箱置于
图片尺寸1827x1501
一种润滑良好高平稳运行轮对专利
图片尺寸1704x1438