轮对结构图

铁道车辆轮对结构关系ppt课件
图片尺寸920x690
cn2180499y_无丝扣矿车轮对失效
图片尺寸1760x2205
摘要附图摘要本实用新型涉及一种火车轮对的单层包装
图片尺寸1230x1200
铁路货车主要轮对型式和基本尺寸
图片尺寸961x497
轮对是由一根车轴 和 两个相同 的车轮按规定的过
图片尺寸1080x810
摘要附图摘要本发明公开一种工程作业车的驱动轮对装
图片尺寸590x471
轮对装配体
图片尺寸820x577
铁道车辆轮对结构与轮轨接触几何关系ppt
图片尺寸1080x810
动车组轮对及轴箱装置ppt
图片尺寸1080x810
image
图片尺寸799x1000
09级crh2动车组轮对与弹簧设计
图片尺寸970x773
铁道车辆轮对结构关系
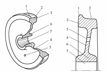
图片尺寸800x600![[单选题] 下图是货车轮对的剖视图,其中"6"所指的是( ).](https://i.ecywang.com/upload/1/img1.baidu.com/it/u=508152681,1123422782&fm=253&fmt=auto&app=138&f=PNG?w=341&h=232)
[单选题] 下图是货车轮对的剖视图,其中"6"所指的是( ).
图片尺寸341x232
crh5型动车组轮对的特点分析
图片尺寸920x1302
轮对收入机
图片尺寸300x225
cw-2系列转向架
图片尺寸548x369
轮对知识ppt
图片尺寸1080x810
铁道车辆轮对结构关系
图片尺寸920x690
什么是轮对?
图片尺寸400x291
背景技术::随着社会经济的发展和工业化进程的不断加快,产业结构发生
图片尺寸1000x503