轮廓笔的原理

厂家永生3013负压上墨钢笔透明示范大容量彩色墨水笔
图片尺寸790x964
原理源起结构,按动笔的核心部件蛋糕式按钮,此类外观设计在几乎所有
图片尺寸578x255
原装进口德国雷梅钢笔alstar恒星钢笔德国钢笔德国进口钢笔
图片尺寸798x580
自动圆珠笔 - 2020年最新商品信息聚合专区 - 百度爱采购
图片尺寸828x415
微视频中国年产380亿支圆珠笔却造不出笔头这成历史了
图片尺寸629x528
美国cross高仕签字笔click按压式圆珠笔复古细宝珠笔女士商务办公签名
图片尺寸760x748
记手帐神器超酷的轮廓笔
图片尺寸960x1280
圆珠笔按钮 功能原理分析 笔芯齿轮在笔套内时的情况 对齐笔 套槽时
图片尺寸1080x810
从1到n,见证这支"神笔"的伟大创新
图片尺寸678x517
手抄报用的轮廓笔准备了吗
图片尺寸1080x1203
翻译笔的制作方法
图片尺寸925x1000
早期都是凸出的,后 你提到的的这三种push-push结构,基本原理相同,但
图片尺寸2480x3508
cn1140663a_按压式发光笔失效
图片尺寸1134x2000
cn206852871u_一种消毒胰岛素注射笔有效
图片尺寸1000x502
被动式电容笔布头圆盘二合一手写笔手机平板电脑触摸笔通用触屏笔
图片尺寸673x432
胰岛素注射笔的制作方法
图片尺寸1000x493
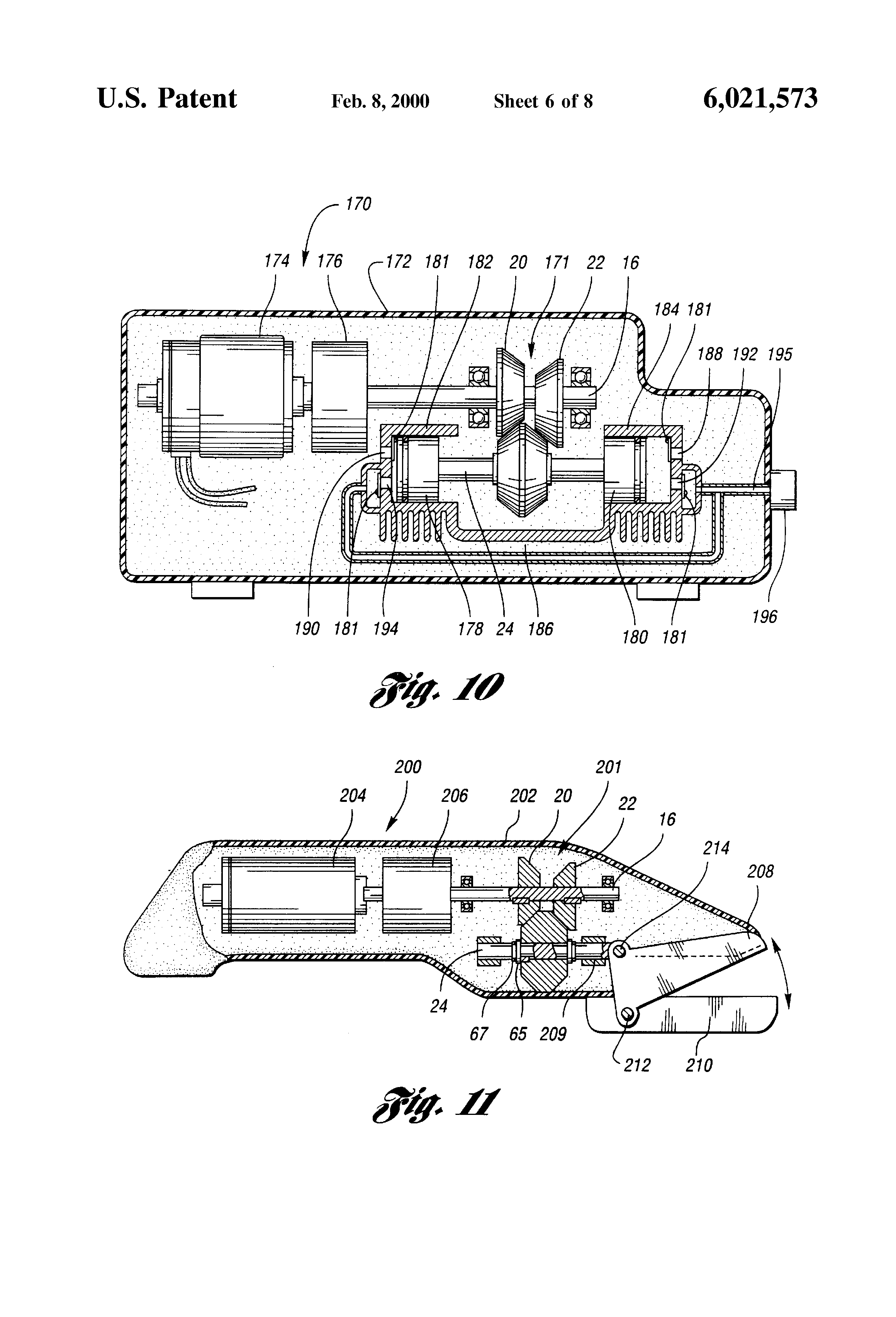
in-line oscillating cam assembly
图片尺寸2320x3408
集物社轮廓笔
图片尺寸1080x1439
电子笔的制作方法
图片尺寸589x1000
一种旋转出芯圆珠笔的制作方法
图片尺寸1000x832