轮毂轴承图纸

一种新型轮毂轴承
图片尺寸800x930
轮毂轴承二维图 - 轴及轴承图纸 - 沐风网
图片尺寸577x826
13 10:04:29发帖人: 轴承网工程师中国汽车轮毂轴承单元经过20多年
图片尺寸349x443
汽车轮毂轴承两代半5130xxxcad图纸dwg图纸
图片尺寸1033x739
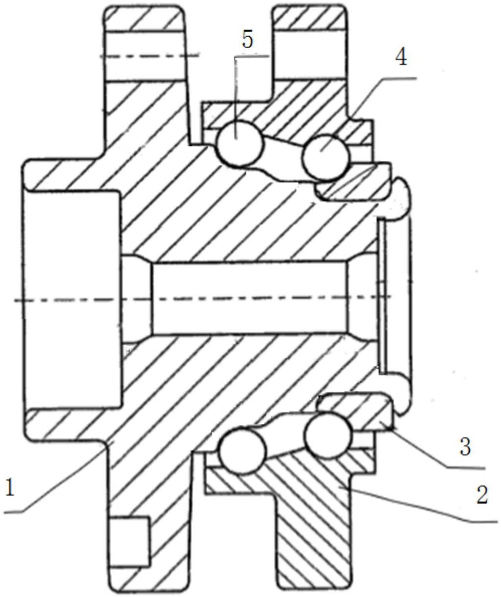
一种带密封端盖的轮毂轴承单元
图片尺寸1902x2582
一种防散套的汽车轮毂轴承-爱企查
图片尺寸1469x2130
林肯后桥轮毂轴承总成cad图纸
图片尺寸1114x791
一种汽车轮毂轴承的制作方法
图片尺寸872x1000
适用于丰田陆巡4500 4700 lc80 lc100前桥轮毂轴承 后桥油封 原厂
图片尺寸801x545
高性能轻量化轮毂轴承单元-爱企查
图片尺寸1400x1351
汽车轮毂轴承的工作原理详细介绍
图片尺寸2008x1871
cn213655462u_一种带abs传感器的轮毂轴承总成密封结构有效
图片尺寸1288x1208
一种带abs磁极的轮毂轴承总成密封结构
图片尺寸1113x1170
集成齿圈的汽车轮毂轴承的制作方法
图片尺寸921x1000
圆锥轮毂轴承的制作方法
图片尺寸516x1000
一种轻型轮毂轴承单元-爱企查
图片尺寸1027x1224
图文并茂,不同汽车轮毂轴承的介绍【值得收藏】
图片尺寸591x354
车盘底轴插动连毂轴结构 - 轴及轴承图纸 - 沐风网
图片尺寸300x225
du305556-2rsm1 汽车轴承 du型双列圆锥滚子轴承轮毂单元 c&u
图片尺寸933x1156
轿车轮毂轴承内圈热辗扩塑性变形有限元分析_马国华
图片尺寸939x821