轮速传感器结构图

轮速传感器类型及信号处理-电子工程专辑
图片尺寸967x361
轮速传感器
图片尺寸754x453
二,轮速传感器分类
图片尺寸399x281
车速传感器
图片尺寸2086x1359
汽车的三种轮速传感器原理
图片尺寸593x357
轮速传感器的作用是什么
图片尺寸889x500
轮速传感器坏了有什么影响?
图片尺寸500x541
霍尔式轮速传感器工作原理结构如图2所示.
图片尺寸1384x668
轮速传感器
图片尺寸441x442
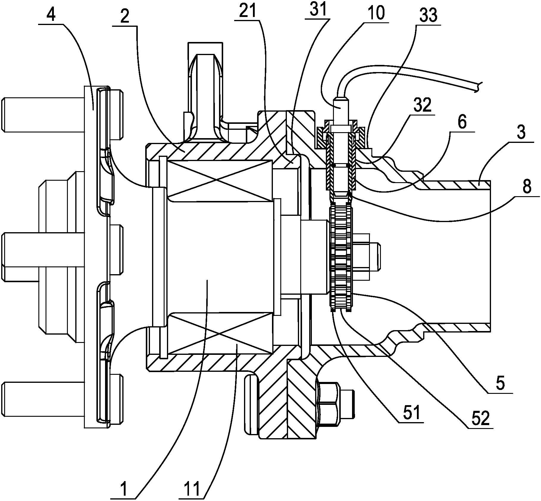
cn206884904u_一种轮速传感器安装定位结构有效
图片尺寸1818x1683
轮速传感器更换方法是什么?
图片尺寸500x667
一种轮速传感器布置结构的制作方法
图片尺寸857x931
cn109406821b_一种变磁阻式轮速传感器有效
图片尺寸1673x1627
一种轮速传感器安装结构的制作方法
图片尺寸1000x1000
一种轮速传感器的制作方法
图片尺寸690x1000
磁电式转速传感器的结构如图 1-49 所示.
图片尺寸589x785
一种无线轮速传感器用固定结构的制作方法
图片尺寸1486x1772
cn205958594u_一种轮速传感器及汽车有效
图片尺寸908x1000
轮速传感器
图片尺寸550x300
江玲e400轮速传感器开路怎么查
图片尺寸1080x1579