软轴结构图

钢丝软轴软轴的结构型式和规格
图片尺寸1126x420
钢丝软轴软轴的结构型式和规格
图片尺寸1131x495
钢丝软轴软轴的结构型式和规格
图片尺寸1126x646
钢丝软轴的结构与规格
图片尺寸562x272
软轴驱动式水田苗间除草机-爱企查
图片尺寸2117x844
软轴
图片尺寸1017x393
一种传动软轴绕线机的软轴张紧机构的制作方法
图片尺寸443x443
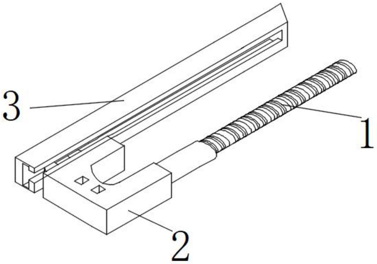
一种便于安装的软轴结构
图片尺寸1249x873
软轴泵结构图
图片尺寸478x709
钢丝软 轴 被驱动 装置 接头 钢丝软 轴 动力源 接头 钢丝软轴的绕制
图片尺寸1080x810
软轴
图片尺寸601x193
一种传动软轴
图片尺寸533x217
cn206347019u_结构紧凑式软轴组件有效
图片尺寸525x231
cn208719132u_一种可旋转的软轴结构
图片尺寸1000x433
一种操纵软轴结构的制作方法
图片尺寸992x1000
软轴结构的制作方法
图片尺寸1000x464
结构紧凑式软轴组件制造技术
图片尺寸552x236
cn202867520u_一种可调节软轴长度的结构有效
图片尺寸617x262
一种软轴总成的制作方法
图片尺寸1000x457
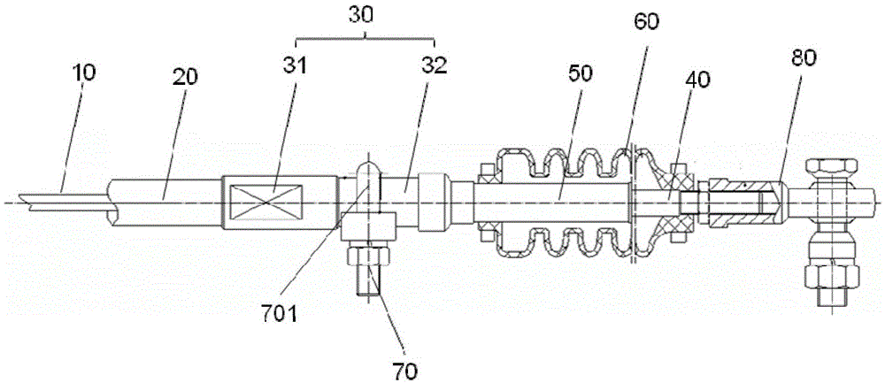
cn1046965a_软轴深井泵专用软轴,制作方法及绕线机失效
图片尺寸2368x635