轴同心度

同心度怎么标注
图片尺寸450x272
浅谈同心度,同轴度测量
图片尺寸893x1198
同轴度的基准
图片尺寸965x570
如何测量泵轴和电机轴的同心度
图片尺寸607x459
机械图纸·每日一符:同心度
图片尺寸755x175
iso 同心度(同轴度)
图片尺寸400x350
iso 同心度(同轴度)
图片尺寸684x323
爱测易h10数显高精度同心度测量仪同轴度轴类零件检测仪
图片尺寸750x750
同轴度
图片尺寸646x373
iso 同心度(同轴度)
图片尺寸416x275
三坐标测量同轴度的方法
图片尺寸642x356
同心(轴)度 同轴度公差 带是直径为同轴度公差值,线 与基准轴线重合的
图片尺寸1080x810
轴的同心度怎么标注cad图纸
图片尺寸623x446
圆度圆柱度同轴度同心度你分的清楚吗
图片尺寸568x584
到底有没有同心度(形位公差)的?
图片尺寸396x203
同轴度——几何公差系列简介
图片尺寸416x144
小点圆,要求,大圆于小圆的圆心在同一个轴线上,如果不同心可以允许有
图片尺寸478x176
如何简单通俗地理解同轴度同心度直线度和跳动
图片尺寸720x300
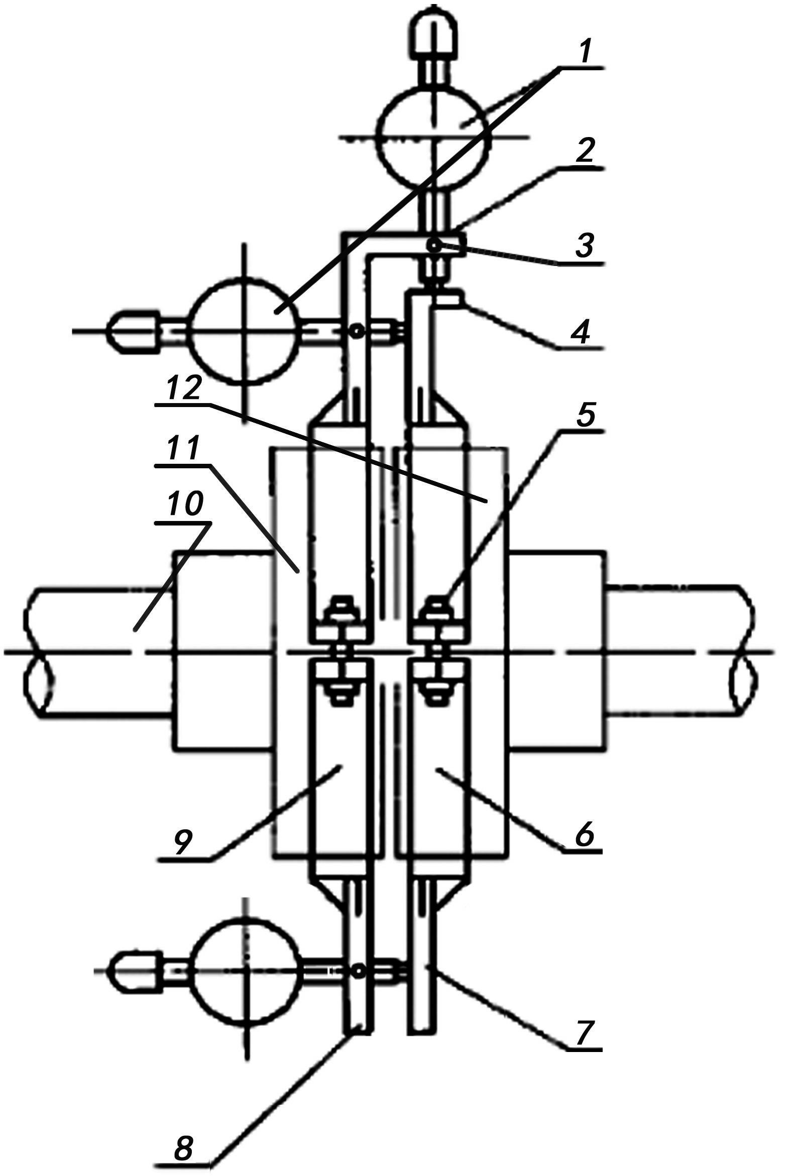
泵轴同心度测量装置-爱企查
图片尺寸1583x2343
机械图纸·每日一符:同心度
图片尺寸596x127