轴承润滑装置

供应轴承润滑装置(图)
图片尺寸827x1102
aerzen 原厂再润滑装置正在给电机轴承自动注入润滑油的图片
图片尺寸1000x1280
轴承润滑的11种方式
图片尺寸640x504
skf机电驱动单点自动润滑器tlsd 250/hp2
图片尺寸651x1000
卧螺离心机主轴承润滑装置
图片尺寸2048x1792
水润滑轴承是什么水润滑轴承的工作原理损坏原因与修理
图片尺寸1748x964
jb/t 12695-2016动静压轴承用稀油润滑装置
图片尺寸800x800
瑞典skf油循环润滑系统circoil/轴承
图片尺寸800x450
机械装置的润滑与密封
图片尺寸450x387
准干式微量润滑系统 高速主轴油气润滑装置设备 诚招代理
图片尺寸750x750
卧式电机稀油润滑的轴承装置
图片尺寸800x762
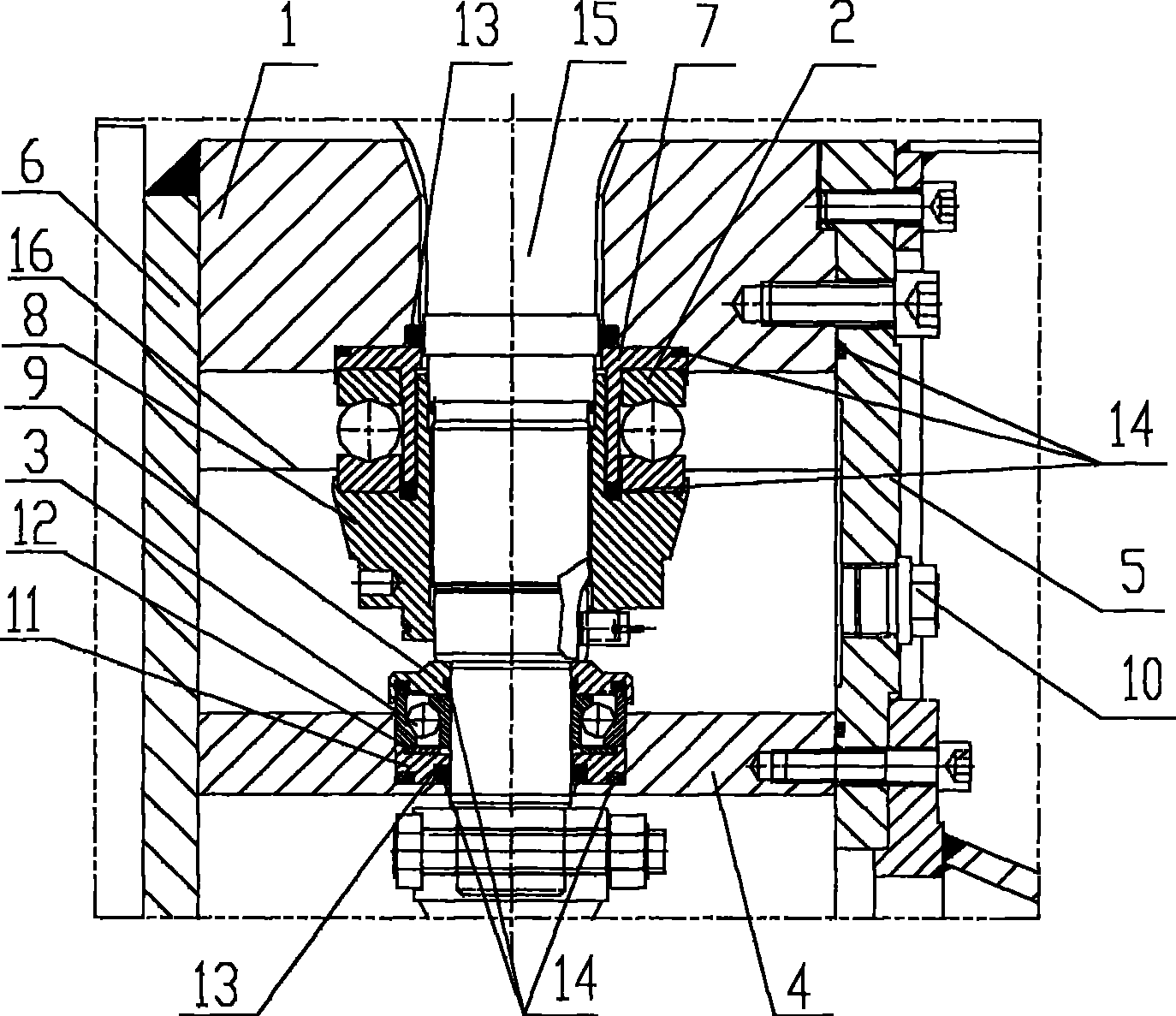
一种水泵水轮机轴承润滑装置
图片尺寸1616x1899
立式泵的轴承循环润滑装置
图片尺寸2090x2875
jb/t 12695-2016 动静压轴承用稀油润滑装置
图片尺寸800x800
台湾easylube离心机轴承座自动加脂器黄油注油器
图片尺寸750x562
cn2713212y_轴承自循环润滑装置失效
图片尺寸601x600
jb/t 12695-2016 动静压轴承用稀油润滑装置
图片尺寸234x350
什么是轴箱装置?怎么保养?-轴承知识-中崋轴承网
图片尺寸610x462
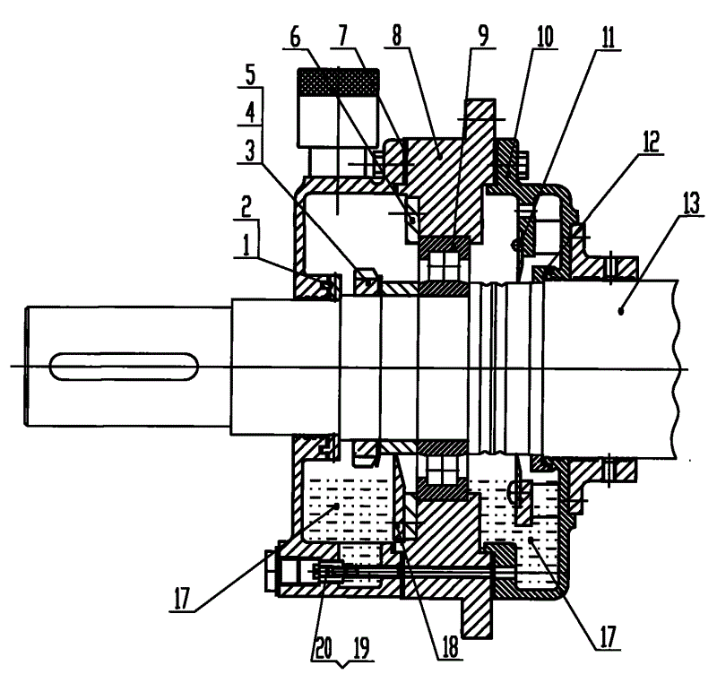
电站用动叶可调风机叶柄轴承稀油润滑装置
图片尺寸1374x1187
青岛黄油加脂器关节轴承自动注油器哪个品牌的注油器比较好
图片尺寸750x992