轴流风机底座

槽钢底座高温风机wqe系列363kw风机
图片尺寸2736x3648
槽钢底座高温风机wqe系列363kw风机
图片尺寸2734x3099
风机底座
图片尺寸1200x677
方底座-风机配件-青州市天成塑料制品厂_生产负压风机,养殖机械
图片尺寸888x663
底座-风机配件-青州市天成塑料制品厂_生产负压风机,养殖机械,发动机
图片尺寸888x682
上虞聚力dz低噪声轴流风机管道固定式底座轴流玻璃钢风机
图片尺寸486x800
屋顶风机均依照国家通风设备产品标准生产,产品安装底座符合国标尺寸
图片尺寸1190x910
t35-11轴流风机固定式管道带底座轴流排风机可定制低噪音轴流风机
图片尺寸800x800
轴流风机带底座支架固定式轴流风机t35-no8a-4 4kw图片
图片尺寸600x600
轴流风机管道式轴流风机带底座轴流风机sfg系列
图片尺寸400x400
风机基础底座模具风力发电基础底座模具众多人选择大进品牌
图片尺寸290x290
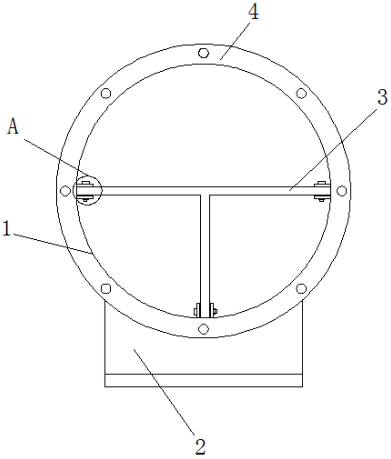
一种轴流风机用安装底座
图片尺寸1343x1578
成都常年加工t35轴流风机支持定制
图片尺寸2694x1514
现浇风电基础模具 风电基础底座模具
图片尺寸640x853
各种离心通引风机轴承座轴承箱 水冷油冷轴承座 瓦盒方箱底座图片
图片尺寸440x440
dz管道轴流风机固定式轴流风机带底座轴流排风机低噪声轴流风机
图片尺寸800x800
槽钢底座高温风机wqe系列363kw风机
图片尺寸600x600
屋顶风机防爆防腐低噪音
图片尺寸750x750
重庆催化裂化压缩机免费咨询--旭日风机
图片尺寸533x400
一种风机底座的制作方法
图片尺寸443x407