轴箱橡胶垫

转k6型转向架的轴箱橡胶垫技术与检修要求
图片尺寸500x500
转k6型转向架轴箱橡胶垫检修报废条件
图片尺寸592x350
轴箱橡胶垫存放托盘
图片尺寸890x895
转k6型转向架轴箱橡胶垫检修报废条件
图片尺寸614x343
联轴器六角梅花垫缓冲垫t型橡胶聚氨酯弹性
图片尺寸1500x1531
轴箱橡胶垫转运 托盘
图片尺寸917x917
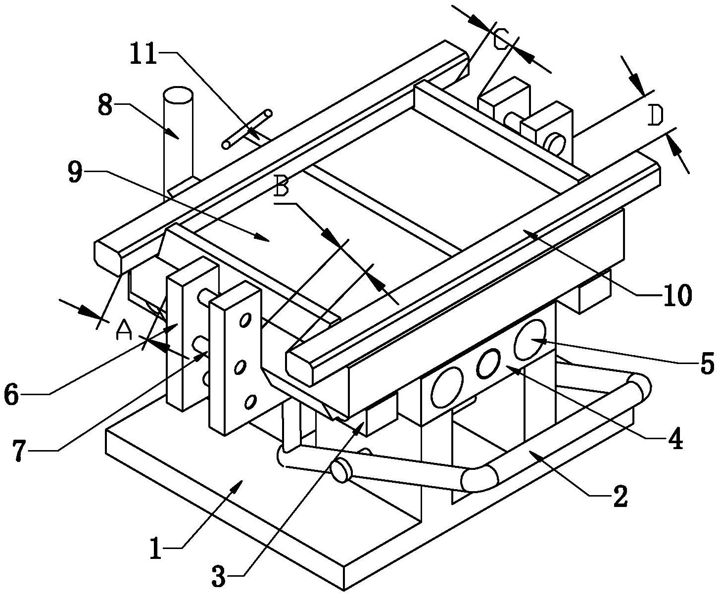
一种轴箱橡胶垫整体对称度检测装置
图片尺寸1453x1205
联轴器缓冲垫 t型六角弹性橡胶梅花垫 绝缘六角轮
图片尺寸750x1310
铁路橡胶垫片 轴箱密封垫 轴箱密封o型圈 机车全车橡胶件 法兰垫
图片尺寸800x800
洗衣机通用脚垫防滑垫波轮滚筒减震垫静音防水防潮橡胶垫专用底座
图片尺寸2755x2596
橡胶垫 硅胶垫 四氟垫 石棉垫 金属垫 梅花垫规格型号齐全
图片尺寸1080x1080
聚氨酯gr型梅花垫 星形联轴器橡胶缓冲垫 厂家支持定制
图片尺寸750x750
音响机箱垫脚 橡胶脚垫 家具音箱锥形增高橡胶机脚 减震防滑地脚
图片尺寸800x800
铁路机车齿轮箱拉臂缓冲垫 轴箱拉臂缓冲垫金属橡胶组合减震垫
图片尺寸1518x1518
货车车厢橡胶垫铺车厢底专用减震胶皮垫防滑耐磨输送带夹线橡胶板
图片尺寸800x800
硅橡胶垫批发,量大优先,满足您的大批量需求.您有任何问题或需
图片尺寸720x1280
带垫片减震脚垫 40*22机箱脚垫 各类功放橡胶脚垫 垫脚 防滑垫
图片尺寸1000x1000
聚氨酯联轴器缓冲垫gr10
图片尺寸1029x1372
缓冲垫脚垫登山机橡胶垫健身器材零配件弹性垫量大优惠跨境招商#
图片尺寸1667x1667
sd型橡胶方形减振垫,实体厂家它可以有效减少设备运行过程中的
图片尺寸720x1000