轻便电锤配件结构图

电锤或锤钻中的手柄减震结构-爱企查
图片尺寸2082x1494
电锤的构造及其使用原理_运动_汽缸_轻型
图片尺寸640x427
轻型电锤润滑脂怎么选?长城润滑油用案例告诉您
图片尺寸537x557
电锤结构拆解图,电锤配件图,轻型26电锤拆解图_大山谷图库
图片尺寸642x751
电锤的工作原理
图片尺寸480x853
一种一键控制的多功能电锤-爱企查
图片尺寸1498x1365
cn201086278y_电锤的钻套失效
图片尺寸2619x880
杭博锂电电锤冲击充电式电钻电镐零配件转子定子其它电动工具
图片尺寸1440x1807
国强电锤h261-2大功率 &
图片尺寸871x458
博世gbh2-26e电锤分解图
图片尺寸1653x2333
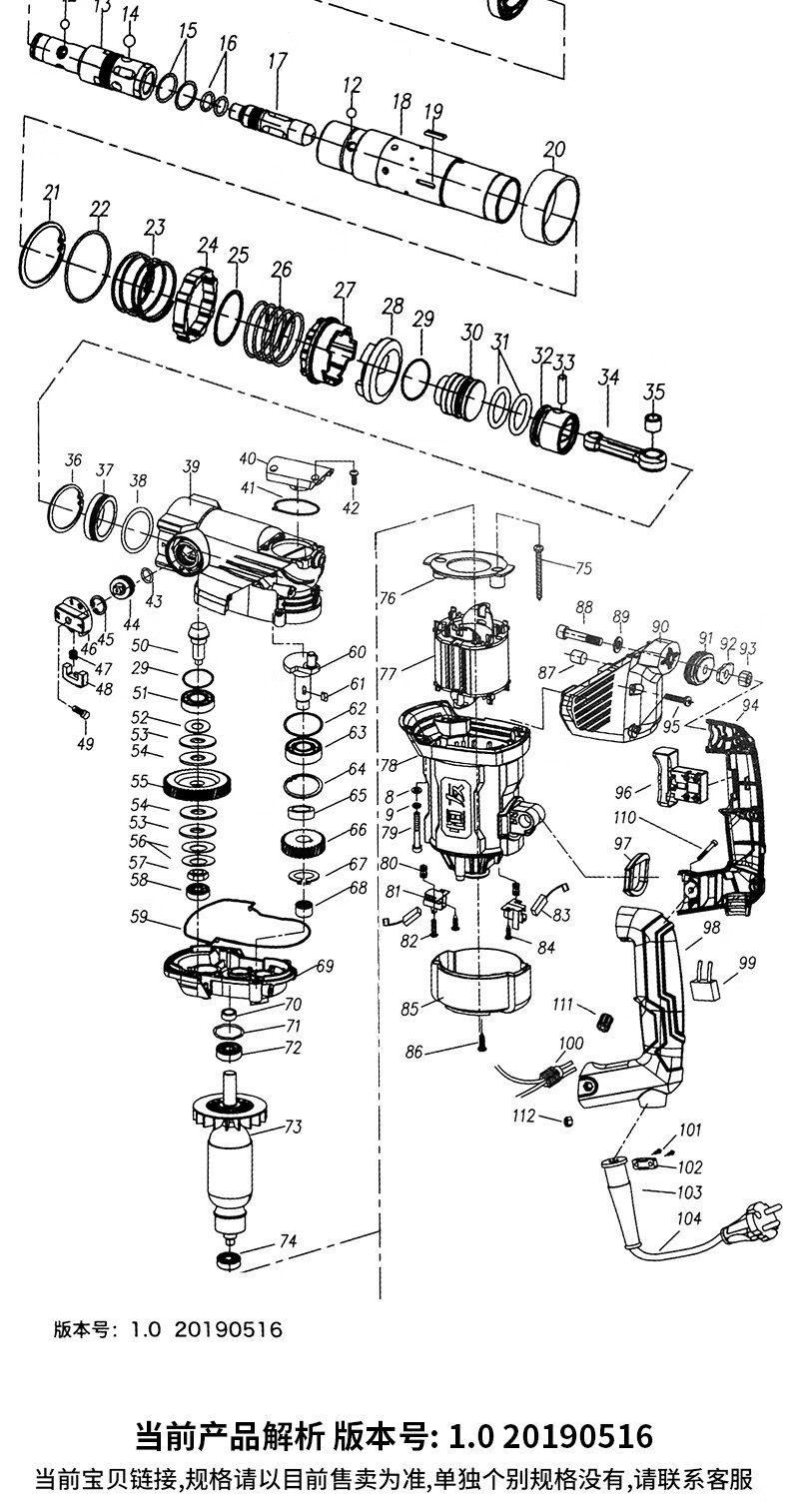
恒友电锤配件28t32c 26g 28s 28j转子定子碳刷四方套活塞开关 恒友28s
图片尺寸790x1514
简单操作步骤: 1,打开本节模型,观看电锤内部结构,如图所示
图片尺寸1005x533
电锤结构拆解图,电锤配件图,轻型26电锤拆解图_大山谷图库
图片尺寸1056x740
一种轻型电锤的制作方法
图片尺寸1000x634
电锤原理动画
图片尺寸1188x742
电锤 at3260/kd20的使用说明及产品爆炸图
图片尺寸736x981
传统电锤
图片尺寸1121x646
一种多功能电锤安装方法技术
图片尺寸726x894
一种直驱型交直流电锤的制作方法
图片尺寸1000x631
cn201086276y_电锤锤头的拨动式冲击机构失效
图片尺寸2548x1655