轿门锁和开门限制装置

轿门开门限制装置与轿门锁的分析与探讨pdf
图片尺寸860x645
轿门开门限制装置与轿门锁的分析与探讨pdf
图片尺寸860x645
浅析轿门锁与开门限制装置的异同
图片尺寸555x450
161电梯门锁 ty-161 轿门锁 电梯门锁装置
图片尺寸434x434
浅析轿门锁与开门限制装置的异同
图片尺寸600x437
轿门开门限制装置与轿门锁的分析与探讨——李刚
图片尺寸1080x810
1 feco-02 中分门机(开门限制装置)
图片尺寸529x667
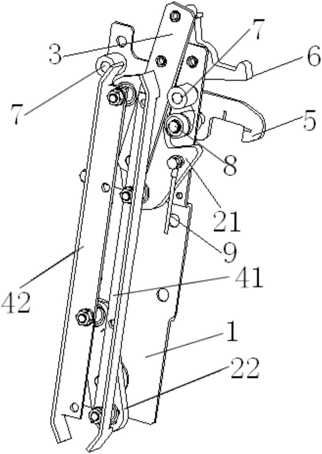
电梯用轿门开门限制装置
图片尺寸1029x1452
1 feco-02 中分门机(开门限制装置) 上图 2 feco-01 中分门机(开门
图片尺寸579x555
2 feco-01 中分门机(开门限制装置) 上图 3 feco-02 中分门机(0702 轿
图片尺寸568x624
多点平开门门锁 门窗五金多点锁系统 平开门执手 高端电泳把手 jhl
图片尺寸800x800
对开门锁双开门双扇门会议室大门家用木门公司办公室双面执手锁
图片尺寸300x300
求一款适合别墅的双开门智能锁
图片尺寸1080x1439
三菱电梯配件/开门限制/轿门锁/三菱防扒门刀装置/机械轿门锁装置
图片尺寸300x300
首创双摄掌静脉智能锁卡萨帝致境挥手就开门
图片尺寸1108x822
08成交0件海康威视门禁考勤一体机指纹刷卡密码系统开门中控机ds
图片尺寸800x800
大门锁双开门木门双扇锁防盗锁穿条锁齿条锁插销铁门锁锁栓门锁3550mm
图片尺寸800x800
密码锁怎么开门(智能锁提示系统锁定打不开怎么办)
图片尺寸640x528
bsq-a-机械锁式风门闭锁装置|矿用风门机械闭锁器
图片尺寸1080x1440
首创双摄掌静脉智能锁卡萨帝致境挥手就开门
图片尺寸1106x738