辊道窑结构图

多层辊道干燥窑的制作方法
图片尺寸977x1000
一种辊道窑
图片尺寸1544x1270
一种辊道窑
图片尺寸1000x771
辊道窑
图片尺寸1562x1414
一种电热式辊道窑
图片尺寸869x296
cn207280181u_一种风冷式辊道窑有效
图片尺寸1526x1608
一种气氛保护辊道窑的制作方法
图片尺寸1000x792
一种瓷砖窑炉辊道结构的制作方法
图片尺寸1000x278
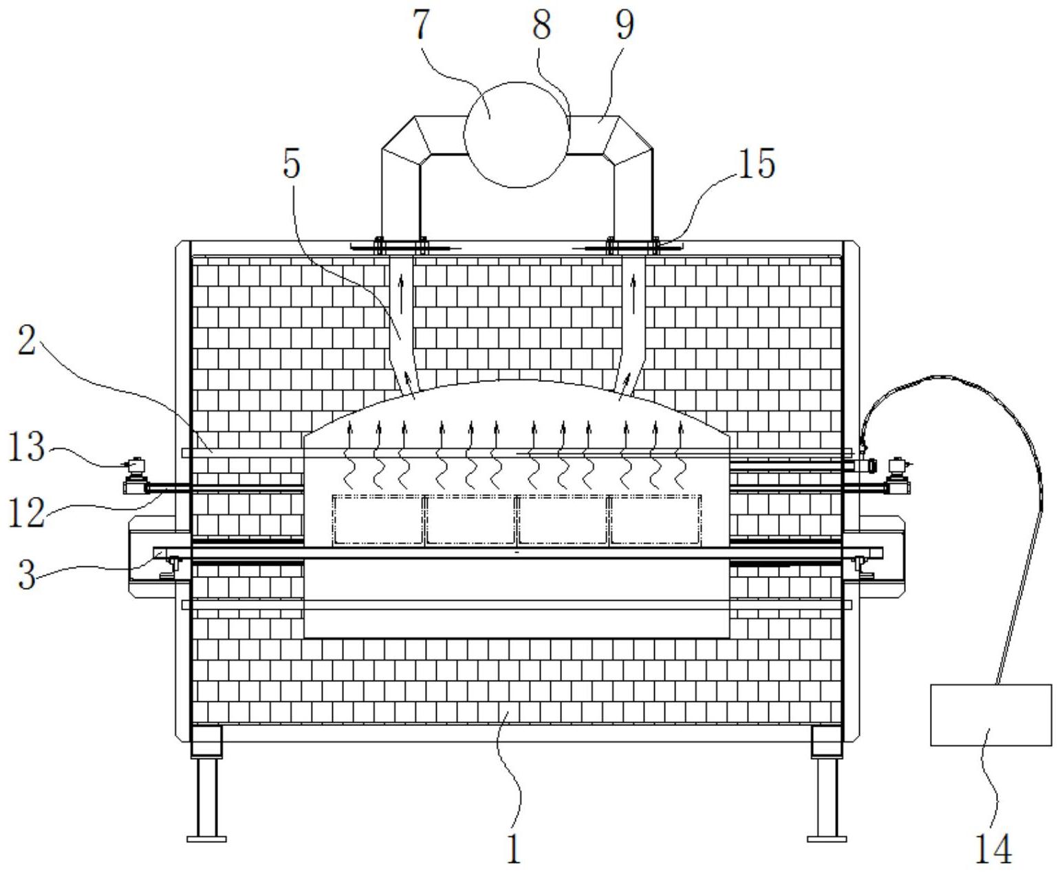
具有气氛稳定功能的辊道窑的制作方法
图片尺寸1000x777
一种辊道窑的制作方法
图片尺寸771x1000
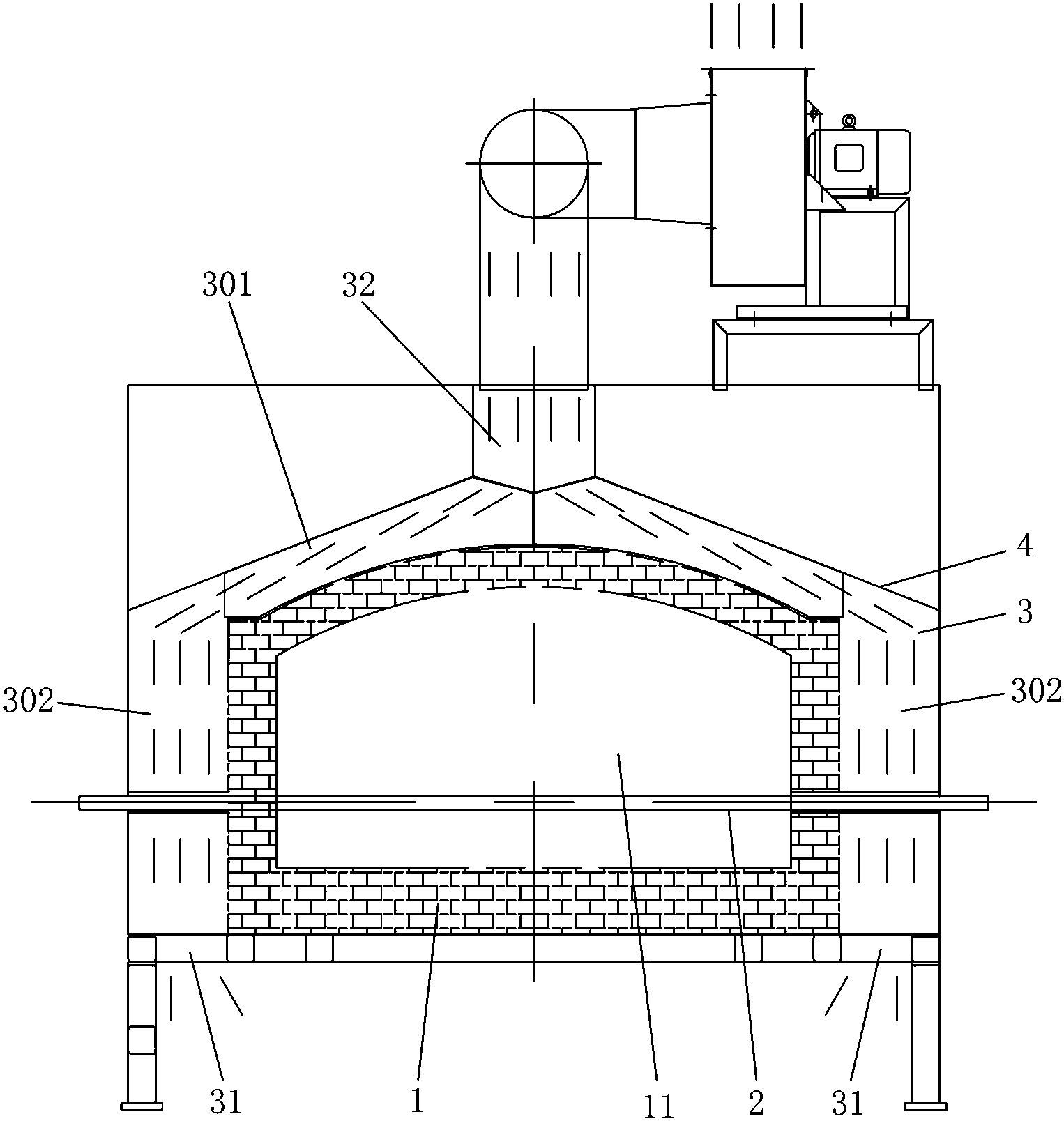
cn1834565a_一种辊道窑余热利用方法及其装置失效
图片尺寸2511x1625
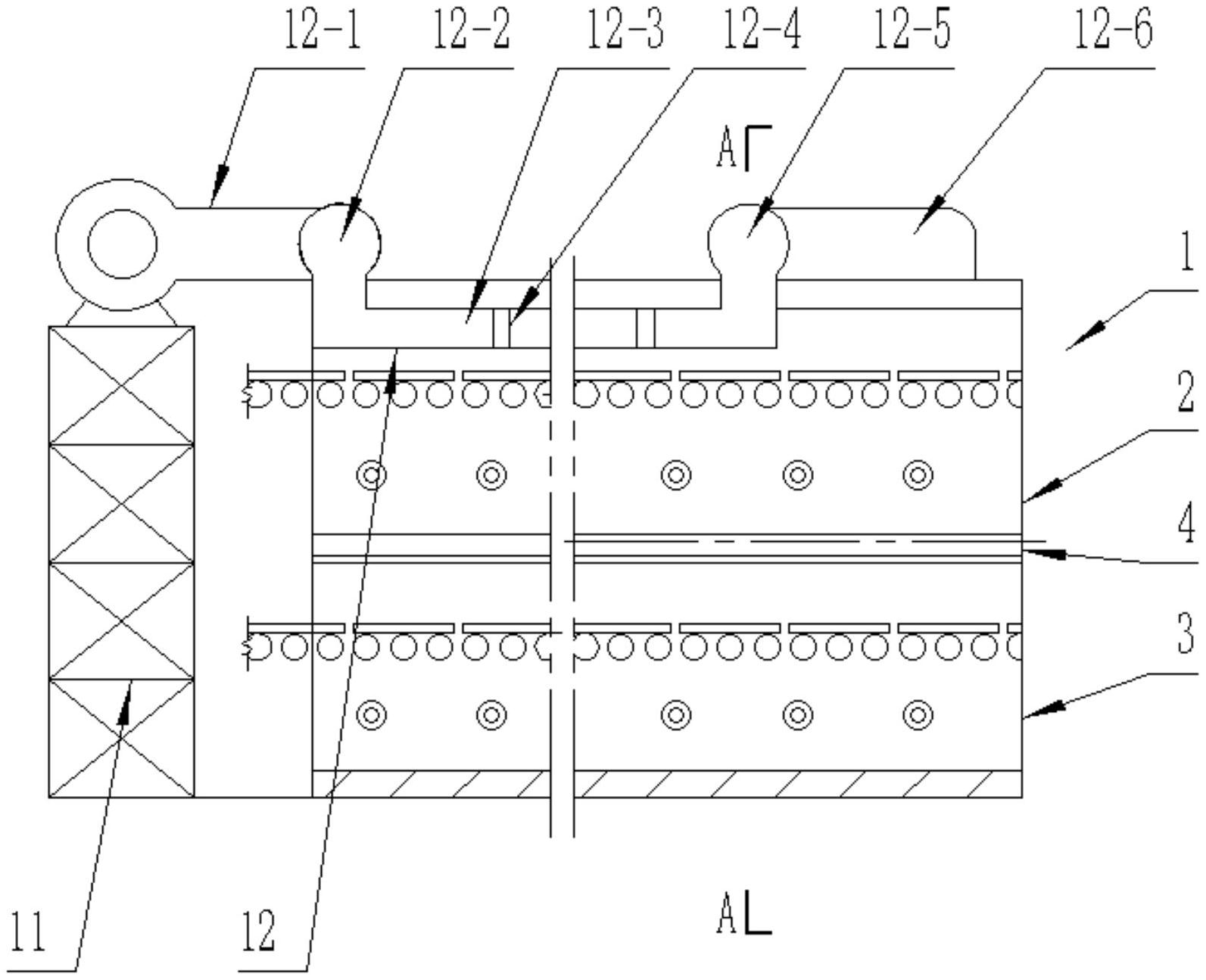
一种辊道窑
图片尺寸934x1000
一种辊道窑自动输料装置
图片尺寸755x837
一种气密式辊道窑用置换室加热和排水构造制造技术
图片尺寸1000x996
一种节能环保辊道窑炉
图片尺寸1000x393
一种辊道窑的制作方法
图片尺寸1000x822
辊道窑结构ppt
图片尺寸1080x810
一种节能环保型双层陶瓷气烧辊道窑
图片尺寸1593x1295
一种加隔断的辊道窑的制作方法
图片尺寸1000x814
一种风冷式辊道窑的制作方法
图片尺寸948x1000