输液器简笔画

简单输液器图标
图片尺寸1200x900
白色背景下的注射器图标矢量符号和符号隔离插画-正版商用图片0t9p8q
图片尺寸700x700
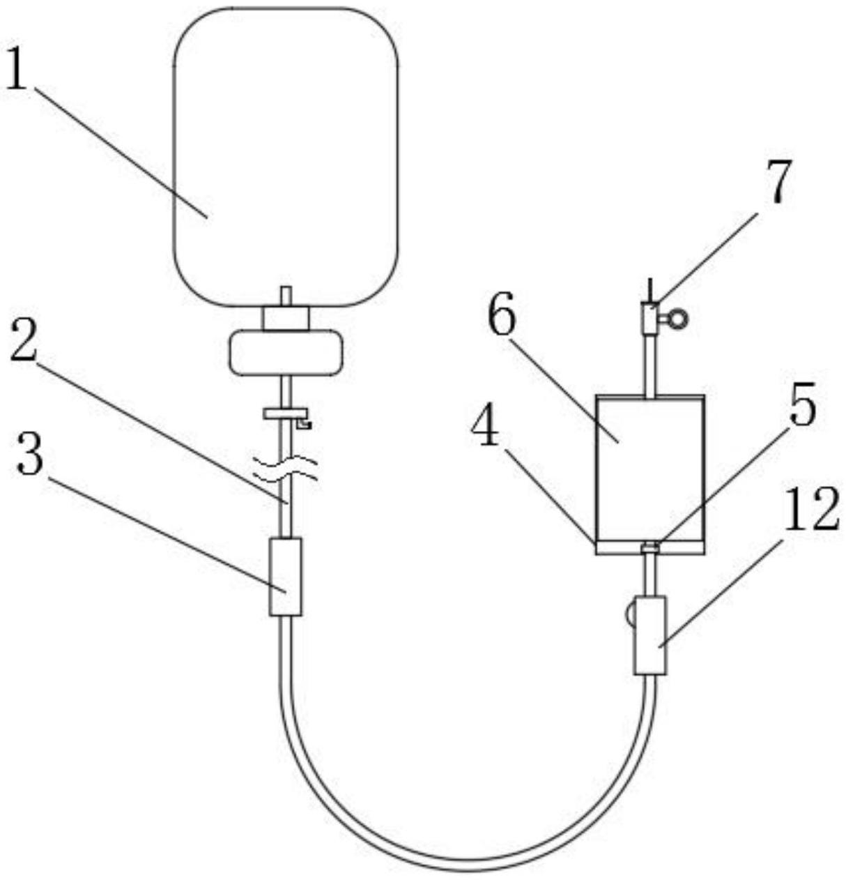
一种能精确调节流速的输液器
图片尺寸713x1000
输液器滴斗-爱企查
图片尺寸650x2023
一种新型心血管内科用输液器
图片尺寸1214x1262
输液器简笔画
图片尺寸500x500
打针筒儿童画怎么画打针筒简笔画画法注射器简笔画图片 注射器怎么画
图片尺寸800x416
输液器-爱企查
图片尺寸1464x1939
简笔画输液器怎么画
图片尺寸682x500
医院输液瓶瓶简笔画输液器简笔画医院输液瓶瓶简笔画简笔画输液输液瓶
图片尺寸450x1000
医学元素图标.涂鸦,简单的大纲插图.可用于纺织品,纸张等表面的装饰.
图片尺寸1100x1100
浮球自动关闭式点滴输液器
图片尺寸1248x1811
输液器简笔画
图片尺寸500x601
输液瓶瓶简笔画医院输液瓶瓶简笔画注射器简笔画教程输液瓶的简笔画
图片尺寸400x338
简笔画注射器应该怎么画
图片尺寸450x582
输液瓶的简笔画
图片尺寸500x500
注射器
图片尺寸1100x1100
医院输液瓶瓶简笔画
图片尺寸500x780
注射器图标在平面风格.在白色孤立背景上注入针矢量图.
图片尺寸1100x1100
注射器吊瓶简笔画彩色
图片尺寸700x465