输液架尺寸

高档输液架系列
图片尺寸800x1132
冀御加厚不锈钢输液架高低可调节输液架不锈钢吊瓶架点滴架三脚2挂钩
图片尺寸750x1050
6斤底座输液架医用输液架加厚移动式可调输液架
图片尺寸790x645
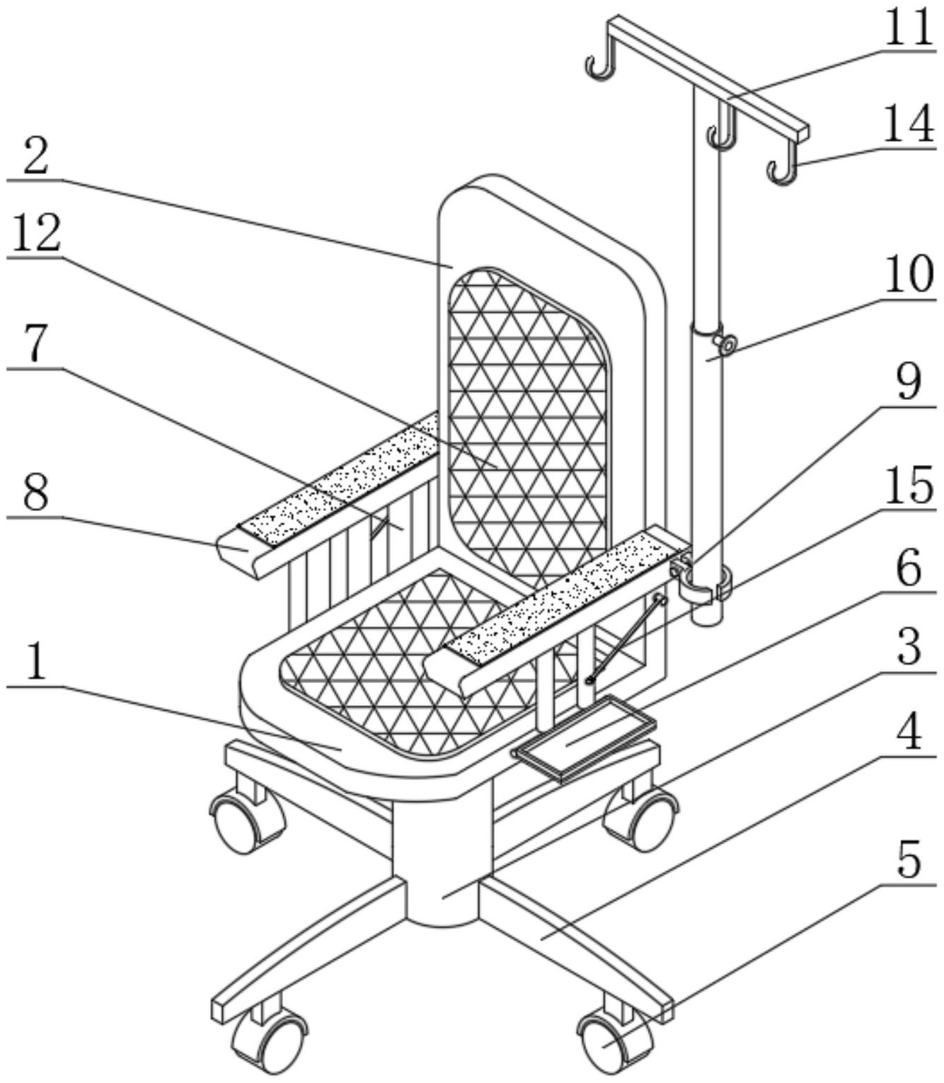
cn213312415u_一种内科护理输液架有效
图片尺寸1590x1624
品正医院输液轨道输液架导轨医用输液轨道病房输液架导轨低价现.
图片尺寸600x426
输液架 不锈钢输液架 落地移动输液架 点滴 吊瓶架 插杆式
图片尺寸750x1766
一种智能输液架的制作方法
图片尺寸506x1000
医用落地输液架加厚不锈钢移动式吊瓶架便携式诊所带轮点滴架 【三角
图片尺寸800x800
cn213466327u_一种手术室护理输液架有效
图片尺寸1334x1530
厂家直销输液架 移动吊瓶点滴伸缩调节高度医用不锈钢落地输液架
图片尺寸750x1070
一种医疗落地输液放置架的制作方法
图片尺寸692x1000
一种重症监护用可折叠收纳式输液架的制作方法
图片尺寸703x1000
cn201088742y_一种便携式输液架失效
图片尺寸1452x1577
cn213432237u_一种医疗用成人输液架有效
图片尺寸610x704
一种肿瘤癌症护理用带有报警功能的输液架的制作方法
图片尺寸540x899
cn2129154y_按键式输液架失效
图片尺寸800x1390
落地输液架lk系列
图片尺寸800x1119
cn201959325u_一种随身幼儿输液架失效
图片尺寸800x1447
一种多功能输液架的制作方法
图片尺寸685x1000
加厚不锈钢输液架护理床点滴架直插式伸缩架不锈钢病床带输液架
图片尺寸750x1108