输纱器原理

s6问题科普贴
图片尺寸506x489
一种电子式输纱器
图片尺寸1711x2387
一种可调速防卡死的输纱器
图片尺寸1685x1522
一种涡流纺纱装置的制作方法
图片尺寸738x1000
图片浏览
图片尺寸962x619
折入边装置折入边装置是用于将织物两边的纬纱头织人织物内部的机构.
图片尺寸296x509
细纱工序ppt
图片尺寸1080x810
美名格输纱器neo knit n9纺织机储纱器 送纱器针织大圆机配件
图片尺寸800x800
输纱器
图片尺寸592x511
相关分类
图片尺寸750x721
结构与各部分的作用(桃花各部分结构作用)
图片尺寸621x837
紧密赛络纺纺纱原理图
图片尺寸400x446
上压式积极输纱器
图片尺寸1507x1519
cn101368305a_一种可生产包芯纱的喷气涡流纺纱装置有效
图片尺寸1696x2497
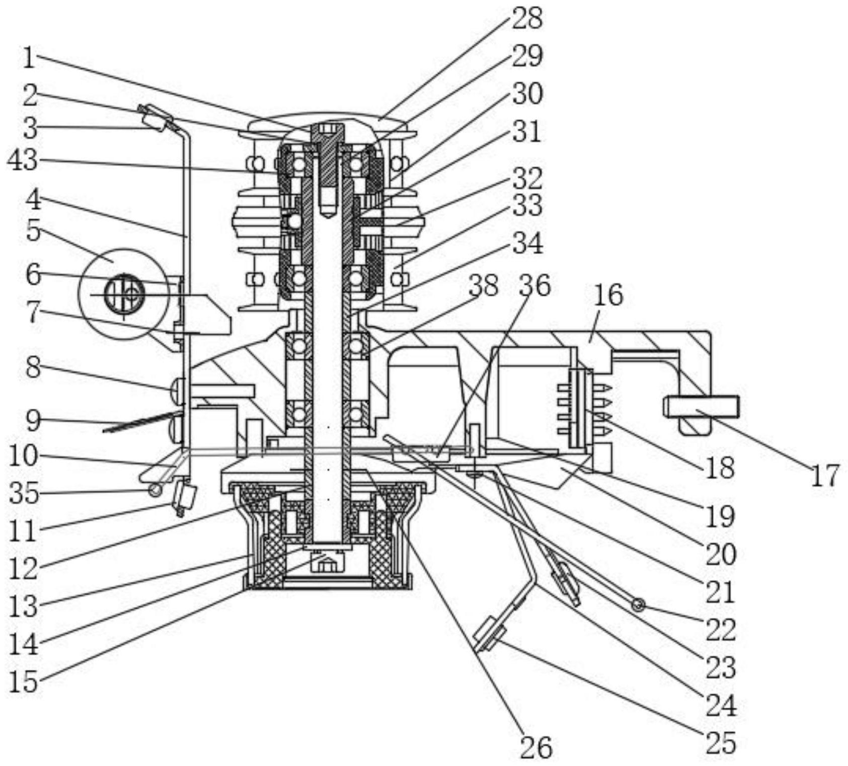
一种双面电脑提花机输纱器的制作方法
图片尺寸346x444
2019-02-16
图片尺寸640x744
输纱器
图片尺寸592x513
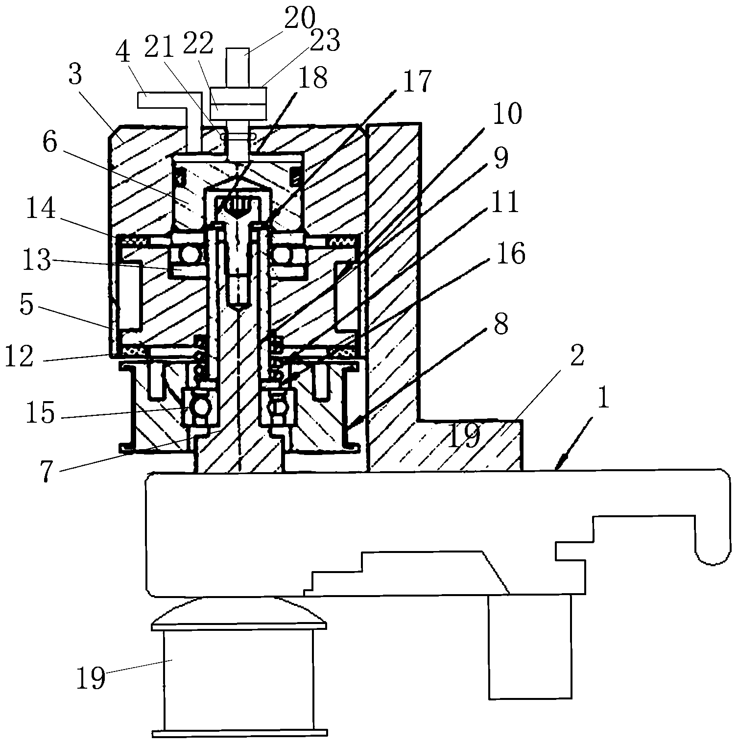
cn206692832u_一种氨纶输纱器有效
图片尺寸1000x869
2019-02-16
图片尺寸593x835
一种圆形针织机自动输纱器
图片尺寸1459x1185