边沟设计图

边沟大样图
图片尺寸1339x830
路堤排水边沟设计图.(某甲级院设计)
图片尺寸1440x1020
黑龙江牡丹江边沟砌石石匠
图片尺寸2304x1728
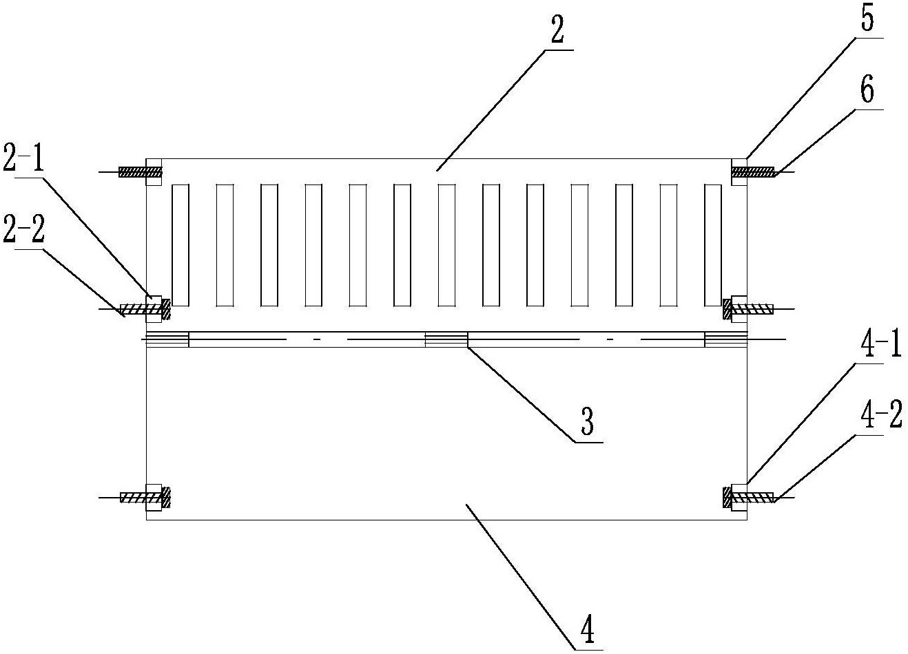
一种兼具挡水功能的边沟箅子-爱企查
图片尺寸1318x950![[分享]路基边沟设计资料下载](https://i.ecywang.com/upload/1/img0.baidu.com/it/u=1885857022,3287233095&fm=253&fmt=auto&app=138&f=JPEG?w=651&h=500)
[分享]路基边沟设计资料下载
图片尺寸760x584
某现浇混凝土边沟排水沟设计全套cad图纸(适用于一般填方路段,挖方
图片尺寸1440x1020
五套常用排水沟建筑cad图纸
图片尺寸599x500
c25砼矩形边沟cad图纸土木建筑设计参考资料【10】
图片尺寸820x579
本资料为:雨水边沟大样图,共5张图纸,设计规范,内容详实,可供参考5分0
图片尺寸610x432
某排水沟cad构造设计施工图
图片尺寸610x432
排水沟大样明沟盖板cad
图片尺寸1440x1020
工程人员在接到施工项目后,不管是农渠,公路边沟还是高速排水沟等
图片尺寸800x505
线形排水沟缝隙式排水沟
图片尺寸677x442
某道路排水工程锯齿形偏沟设计cad全套施工图(甲级院设计)
图片尺寸1440x1020
底板排水沟大样图
图片尺寸760x570
框架式锚杆挡墙戒毒所边坡支护施工图
图片尺寸760x395
边沟,排水沟设计图
图片尺寸708x503![[提问]矩形边沟与梯形边沟顺接交汇](https://i.ecywang.com/upload/1/img0.baidu.com/it/u=2487784236,743660862&fm=253&fmt=auto&app=138&f=JPEG?w=500&h=1000)
[提问]矩形边沟与梯形边沟顺接交汇
图片尺寸760x1520
五套常用排水沟做法cad详图
图片尺寸610x684
地沟水沟cad施工图,图纸可直接下载用于相关园林景观节点素材设计使用
图片尺寸700x442