过滤槽结构图

7-变频调节器 虽然麦汁过滤槽的使用历史悠久,至今仍保持其传统的结构
图片尺寸1083x646
袋式过滤器结构图.jpg
图片尺寸1085x856
厂家直销循环水处理石英砂过滤罐污水处理过滤器
图片尺寸1000x848
gy2叠片过滤器全自动反冲洗叠片过滤器嘉航河水叠片过滤器
图片尺寸975x596
求回旋沉淀槽图,做论文用或电子图片
图片尺寸577x400
高温高效过滤器
图片尺寸1692x1993
篮式过滤器
图片尺寸400x490
石英砂过滤器结构图.png
图片尺寸552x352
回馈,滤池在运行过程中出现在最多的现象就是过滤时空气进入滤料层
图片尺寸974x745
石英砂过滤器,浅层砂罐子机组适用条件
图片尺寸650x400
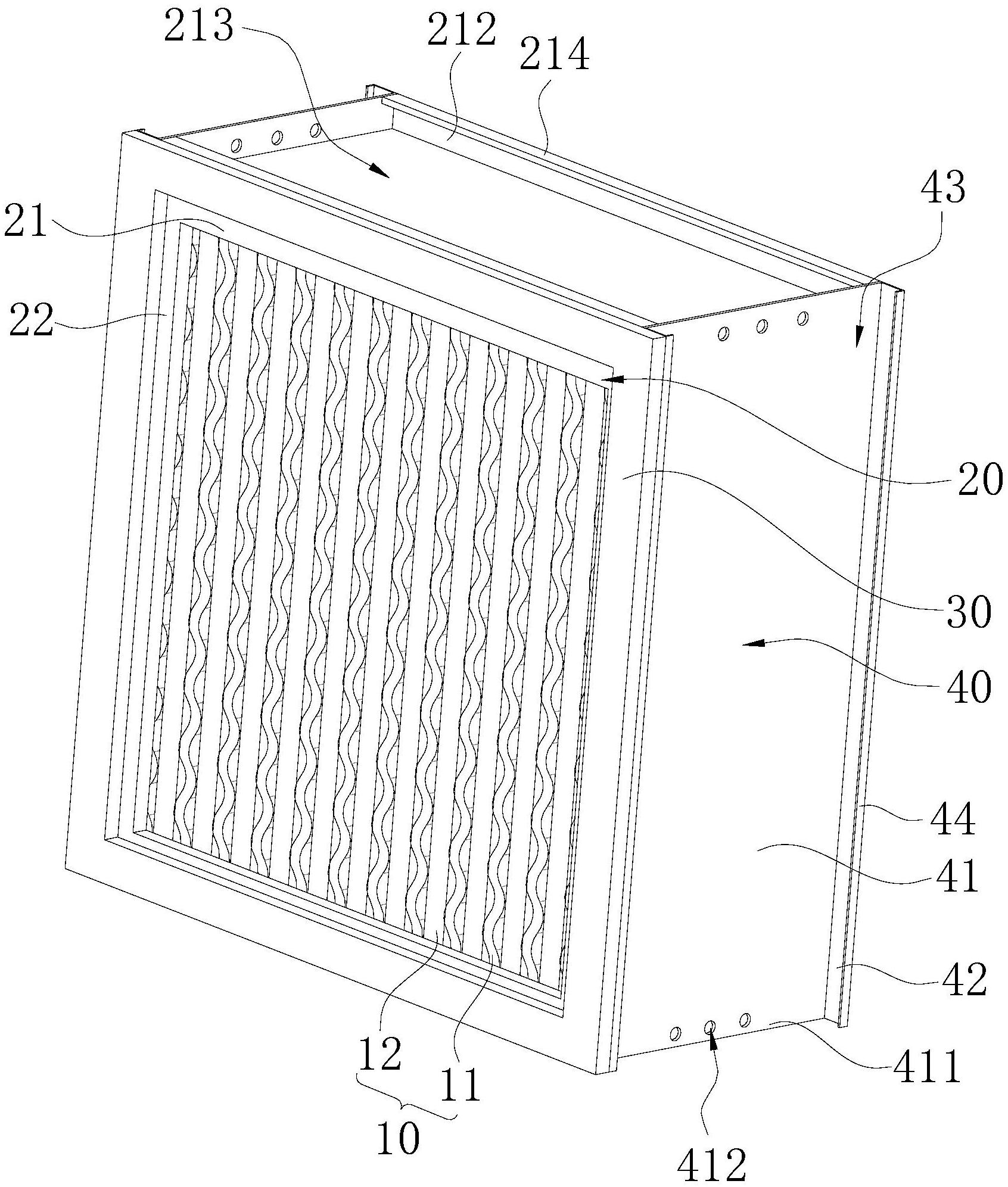
过滤器结构图
图片尺寸400x309
全自动自清洗过滤器结构示意图
图片尺寸991x638
生物滤池构造结构图
图片尺寸521x341
一种小型啤酒发酵用麦芽糖化过滤槽
图片尺寸945x1000
由该滤料形成的滤床孔隙分布接近理想的滤层结构,过滤时沿水流方向自
图片尺寸454x363
原水过滤 当原水由高位槽自流或提升泵泵入过滤器底部的配水环,经
图片尺寸376x514
zpg-l型直角反冲洗过滤器
图片尺寸697x332
产家直营qyl型回油过滤器滤芯过滤器不锈钢过滤器液压滤芯
图片尺寸1095x1422
连续流砂过滤池
图片尺寸404x369
8000t╱d 选矿厂重选,浓密,过滤设备培训教材ppt
图片尺寸1080x810