过滤网图纸怎么画

蚀刻加工过滤网
图片尺寸624x600
过滤网
图片尺寸618x458
一种用于豆浆机的过滤网结构
图片尺寸1764x2294
过滤网图纸
图片尺寸534x721
中小型泳池水处理过滤系统图纸.
图片尺寸1080x2340
一种虹吸式咖啡壶过滤网的制作方法
图片尺寸1000x959
一种便于拆装的初效过滤网的制作方法
图片尺寸426x443
水箱过滤网
图片尺寸1404x2185
过滤网
图片尺寸428x512
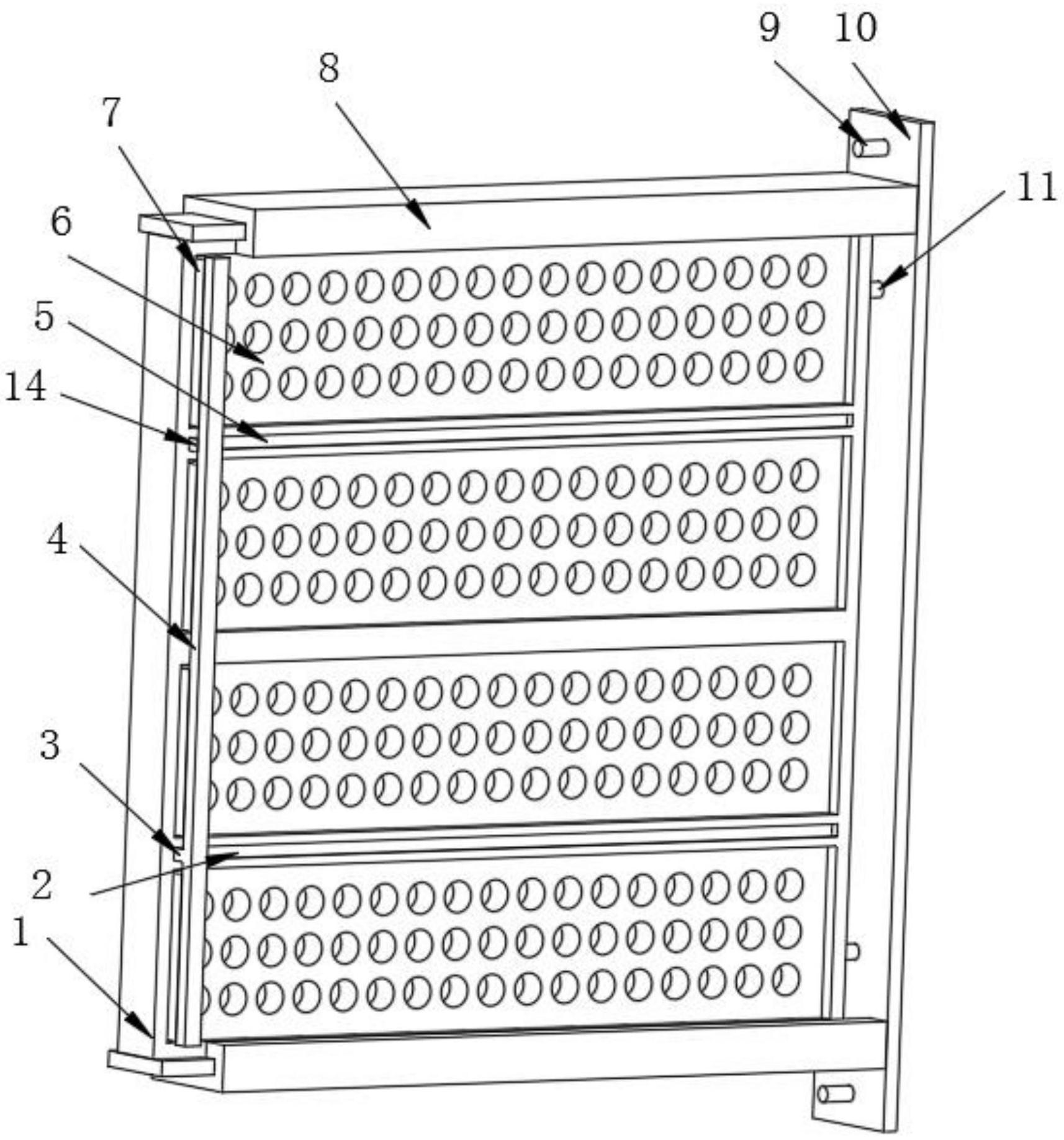
cn213687027u_一种立式空调便于清洗的过滤网有效
图片尺寸1714x1837
过滤网图纸
图片尺寸827x630
一种具有自洁功能的防尘滤网
图片尺寸1384x1417
一种空气净化器的过滤网制造技术
图片尺寸1000x780
专业生产不锈钢冲孔网桶带提手圆柱形过滤桶圆孔网
图片尺寸1920x1386
电泳槽过滤网设计图下载(60.38 kb,dwg格式) 机械cad图纸
图片尺寸952x385
cn212619061u_空气过滤材料及过滤网有效
图片尺寸1511x1859
cn213132196u_一种用于净化装置的抽拉式更换结构的碳纤维滤网
图片尺寸1751x1960
一种吸油烟机过滤网结构及吸油烟机的制作方法
图片尺寸995x1000
2过滤器图纸.png
图片尺寸1177x853
一种可用于尿素箱过滤的滤网结构的制作方法
图片尺寸1000x774