过盈连接

过盈连接ppt课件
图片尺寸800x600
如何正确装配过盈配合连接件?
图片尺寸558x446
过盈连接ppt
图片尺寸1080x810
《过盈联接》ppt课件
图片尺寸800x600
(二)过盈配合 1,过盈配合
图片尺寸1080x810
如何正确装配过盈配合连接件?
图片尺寸1232x1200
07-04 过盈连接ppt
图片尺寸1080x810
过盈联接
图片尺寸371x338
液压泥浆泵过盈连接装配
图片尺寸640x427
7.过盈联接
图片尺寸1080x810
过盈连接的装调工艺与技术
图片尺寸486x236
压力配合也称作受力配合,干涉配合及收缩配合,将装配关系属于过盈配合
图片尺寸438x388
第7章铆焊胶接过盈联接--机械设计课件.pdf 37页
图片尺寸792x594
液压泥浆泵过盈连接装配
图片尺寸640x480
过盈连接的装调工艺与技术
图片尺寸637x332
过盈连接ppt
图片尺寸1080x810
传统的轴毂连接装置是通过键来连接的,轮毂与轴上各加工有键槽,通过键
图片尺寸1152x616
螺母压紧的圆锥面过盈连接
图片尺寸491x310
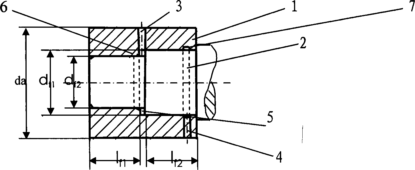
cn102672455a_液压拆卸圆柱面过盈联接的结构及装卸方法失效
图片尺寸1451x595
过盈结构的装配方法
图片尺寸1080x711