进料装置

自动进料装置
图片尺寸820x1256
进料装置三维模型及运动仿真动画
图片尺寸1100x611
进料装置-爱企查
图片尺寸676x799
钛白粉煅烧窑无污染进料装置
图片尺寸1848x2190
旋转进料装置-爱企查
图片尺寸260x252
进料装置
图片尺寸454x648
卓泰机电装备制造有限公司-转子秤,立磨锁风喂料器,辊压机进料装置
图片尺寸1698x1652
用于沸腾氯化炉的进料装置
图片尺寸1177x2221
螺旋脱水进料装置
图片尺寸1000x963
螺旋进料装置sw
图片尺寸323x220
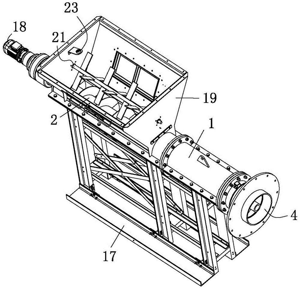
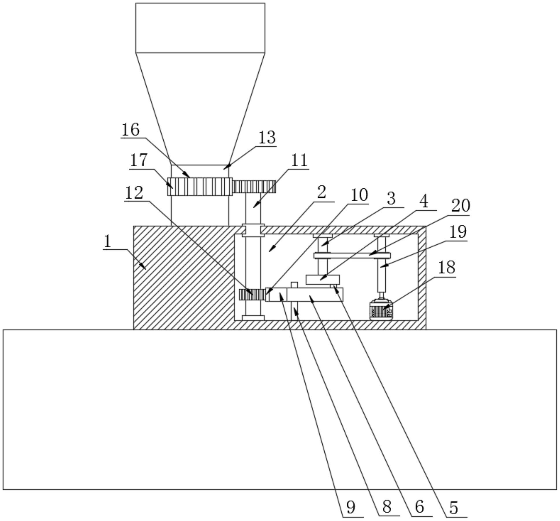
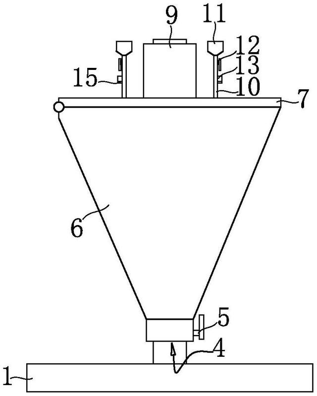
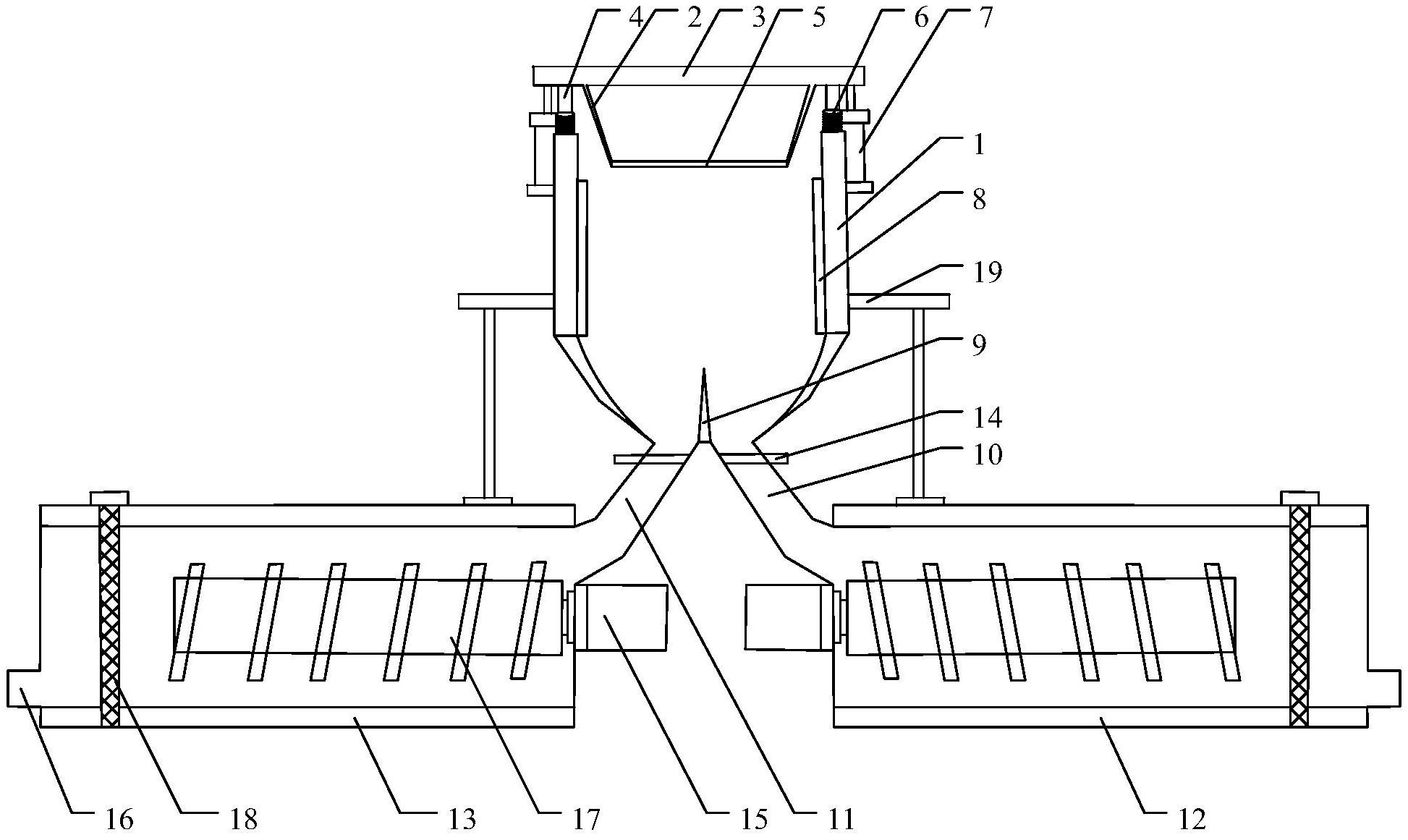
一种回转式焚烧炉破碎进料装置
图片尺寸1884x2153
吹膜机进料装置
图片尺寸1946x1161
cn213291274u_一种抗菌母粒挤出机进料装置有效
图片尺寸1937x1801
一种斗提机进料装置
图片尺寸1823x1980
塑料挤出机的进料装置-爱企查
图片尺寸1433x1751
冷弯设备进料装置3d模型
图片尺寸530x349
一种混凝土搅拌站粉料进料装置
图片尺寸1202x1574
一种注塑机进料装置-爱企查
图片尺寸640x799
螺旋脱水进料装置的制作方法
图片尺寸1000x963
cn212720822u_一种铝棒热剪炉的进料装置有效
图片尺寸2050x1297