连杆锁死机构

连杆锁紧机构sw
图片尺寸485x409
连杆锁紧机构sw
图片尺寸744x476
机械式锁死机构
图片尺寸1000x550
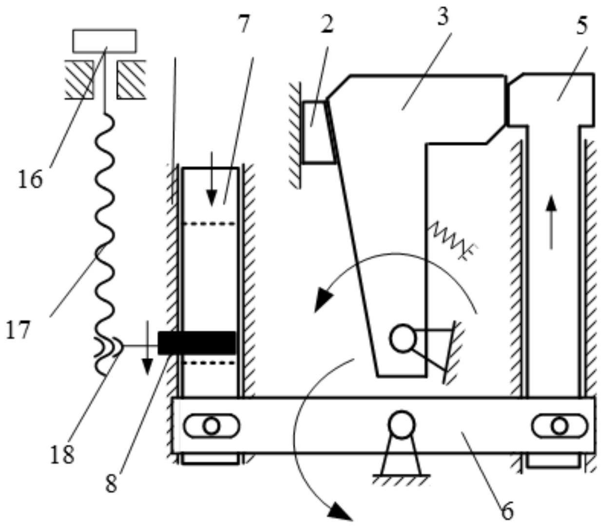
其特征在于包括手柄,夹紧臂,四连杆机构及气缸;所述手柄与夹紧臂通过
图片尺寸1142x2354
夹紧自锁机构(利用连杆死点,强力自锁) stp cad
图片尺寸291x218
连杆自锁机构
图片尺寸820x441
单气缸连杆自锁机构
图片尺寸300x225
cn201047369y_野外作业车用连杆锁紧装置失效
图片尺寸1638x853
锁止结构_cn201920240166.9_知雀网
图片尺寸765x1000
一款双向夹紧的连杆机构
图片尺寸820x508
常见的辅助上下楼机构为行星齿轮式,但是连杆式的比较少见,此三
图片尺寸548x392
自动压装锁芯机构
图片尺寸729x589
举升机连杆锁齿机构
图片尺寸999x1000
非常实用的载具台连杆卡槽定位机构
图片尺寸820x562
连杆锁紧机构sw
图片尺寸591x377
夹紧自锁机构利用连杆死点
图片尺寸300x225
cn112833075a_一种可用于连杆机构的锁紧装置在审
图片尺寸1213x1339
一种连杆触发式锁释装置及其工作方法
图片尺寸1239x1084
连杆机构的结构设计
图片尺寸578x331
6款bimba原装连杆锁芯
图片尺寸730x694