送丝机构简图

一种焊接机送丝机构
图片尺寸1408x1616
cn207787915u_一种自动焊锡送丝机有效
图片尺寸1954x1642
一种用于电焊机中的送丝机构的制作方法
图片尺寸444x423
机器人送丝机构fwt-740-a2
图片尺寸800x536
一种自动旋转送丝机构
图片尺寸1576x1699
一种自动送丝机构的制作方法
图片尺寸608x564
cn203265846u_一种co2焊接送丝机构失效
图片尺寸1000x955
一种具有焊丝有无检测功能的焊接机器人送丝机构
图片尺寸996x1207
一种自动送丝系统
图片尺寸1876x1415
一种滚丝机用送丝装置的制作方法
图片尺寸1000x695
一种新型检测式送丝机构的制作方法
图片尺寸1000x648
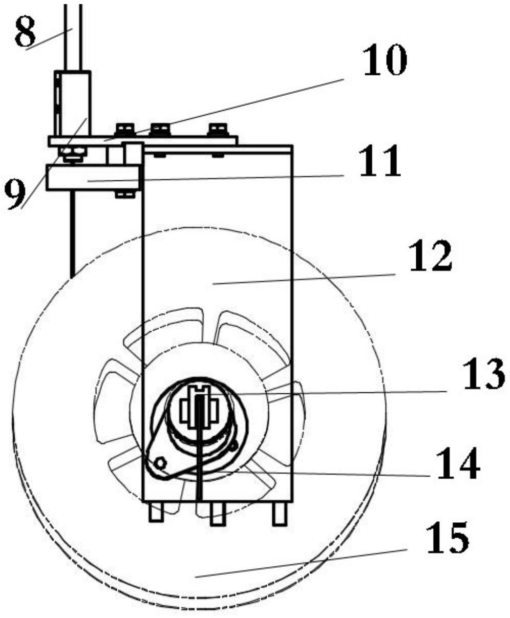
所述箱体内安装有电机,电机输出端通过第一传动机构连接送丝轮传动组
图片尺寸1725x1321
一种稳定的机器人送丝系统的制作方法
图片尺寸907x1000
送丝机及激光溶覆装置
图片尺寸1000x780
一种制钉机用送丝传动机构的制作方法
图片尺寸443x381
一种3d打印送丝结构制造技术
图片尺寸1000x821
一种用于焊接设备的送丝机制造技术
图片尺寸1000x603
3d打印机送进装置的深入式送丝结构的制作方法
图片尺寸1000x899
3d打印机的送丝机构的制作方法
图片尺寸1000x758
焊接机器人送丝结构-爱企查
图片尺寸1328x1216