送丝机构结构图

埋弧焊专用送丝机构
图片尺寸518x444
cn201632771u_一种差速式送丝机构失效
图片尺寸1543x1579
一种双送丝氩弧焊送丝机构包括在支架的两侧对称设置的两送丝结构,并
图片尺寸1674x1382
一种送丝机构
图片尺寸961x1000
一种焊接机送丝机构
图片尺寸1408x1616
所述箱体内安装有电机,电机输出端通过第一传动机构连接送丝轮传动组
图片尺寸1725x1321
双变频水箱式拉丝机方案
图片尺寸915x417
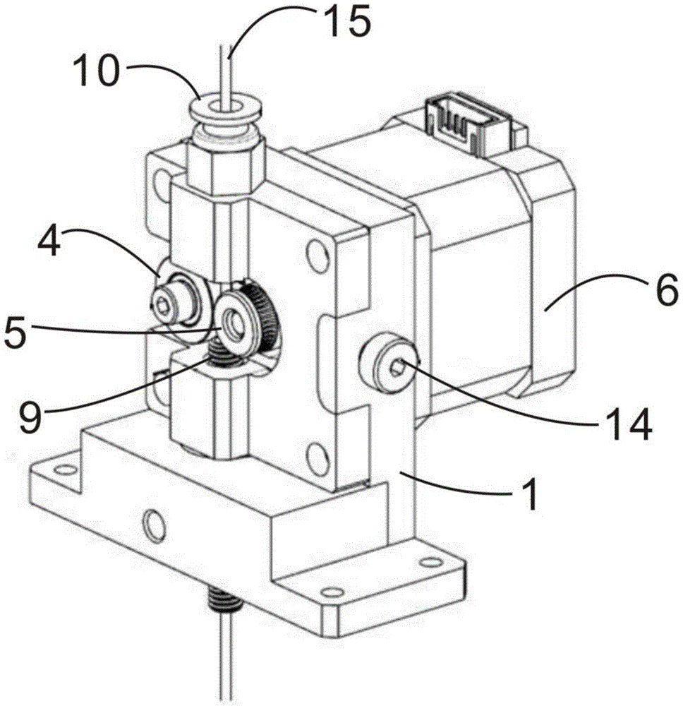
一种3d打印的送丝机构的制作方法
图片尺寸970x1000
cn209718621u_一种用于3d打印供料系统的送丝机构有效
图片尺寸968x1000
一种单杆单臂送丝机的制作方法
图片尺寸444x338
一种用于电焊机中的送丝机构的制作方法
图片尺寸444x423
cn207787915u_一种自动焊锡送丝机有效
图片尺寸1954x1642
一种自动旋转送丝机构
图片尺寸1576x1699
cn202922081u_一种窄间隙双丝焊送丝机构有效
图片尺寸512x1000
自动送钉机结构
图片尺寸400x300
埋弧焊专用送丝机构
图片尺寸526x455
机器人送丝机构fwt740a3
图片尺寸800x536
非滑动式拉丝机工作原理
图片尺寸793x586
一种自动送丝系统
图片尺寸1876x1415
滑动式拉丝机
图片尺寸416x437