选粉机图纸

高效双转子选粉机图纸lxz600直筒
图片尺寸1600x1280
转笼旋风静态式选粉机的制作方法
图片尺寸719x1000
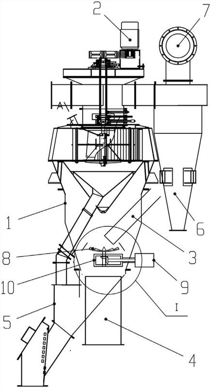
一种选粉机的制作方法
图片尺寸387x444
一种改进型组合式选粉机-爱企查
图片尺寸436x800
一种新型双导均风高效选粉机
图片尺寸1267x2023
cn212310096u_高效涡流选粉机有效
图片尺寸1770x2136
k型内循环选粉机
图片尺寸2001x1487
部分高效选粉机结构原理图
图片尺寸1252x798
osepa高效选粉机构造及工作原理
图片尺寸920x1302
一种涡旋式空气选粉机
图片尺寸4992x6660
cn112354703a_一种可调控三分离选粉机在审
图片尺寸1945x1679
离心式选粉机
图片尺寸489x465
一种研磨选粉机的制作方法
图片尺寸443x412
一种多产品机械风力组合式选粉机
图片尺寸1291x1846
sepa选粉机煤磨动态组合式转子选粉机全套cad图纸通用生产制造图纸
图片尺寸773x574
旋风式选粉机的构造及工作原理
图片尺寸920x1302
高效转子式选粉机装配总图a0pdf
图片尺寸800x1132
oseap选粉机n3000总图dwg
图片尺寸800x500
选粉机
图片尺寸600x400
一种高效复合离心式选粉机的制作方法
图片尺寸342x444