选粉机示意图

一种组合式三分离选粉机装置-爱企查
图片尺寸445x423
一种低阻高效选粉机-爱企查
图片尺寸1011x1645
一种改进型组合式选粉机-爱企查
图片尺寸436x800
osepa高效选粉机构造及工作原理
图片尺寸920x1302
一种选粉机的制作方法
图片尺寸387x444
离心式选粉机
图片尺寸489x465
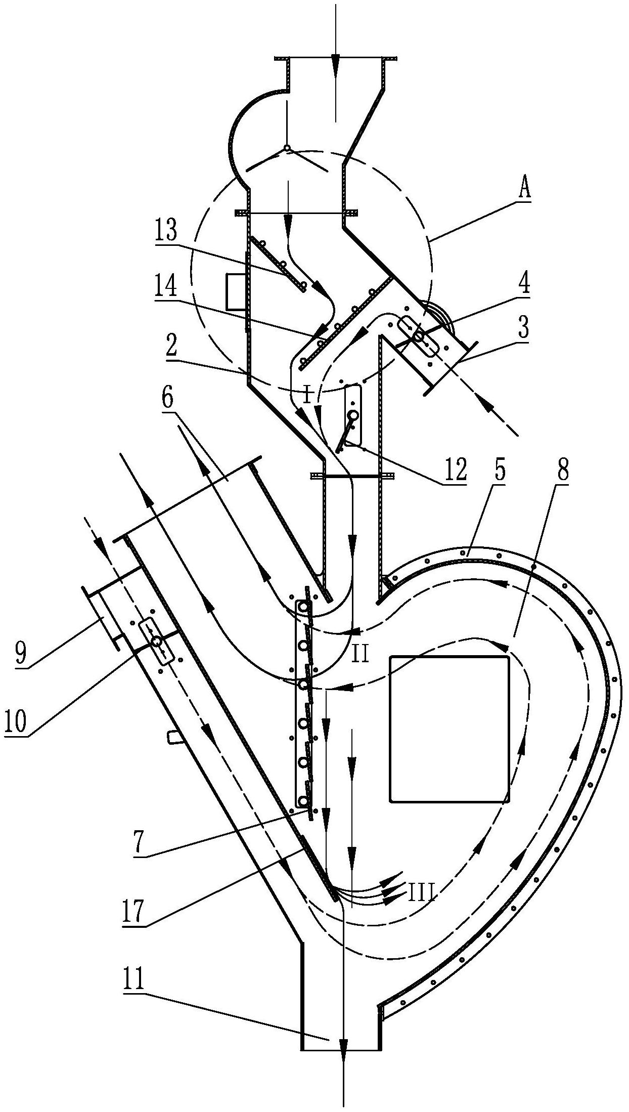
一种新型双导均风高效选粉机
图片尺寸1267x2023
部分高效选粉机结构原理图
图片尺寸1252x798
一种选粉机的制作方法
图片尺寸776x1000
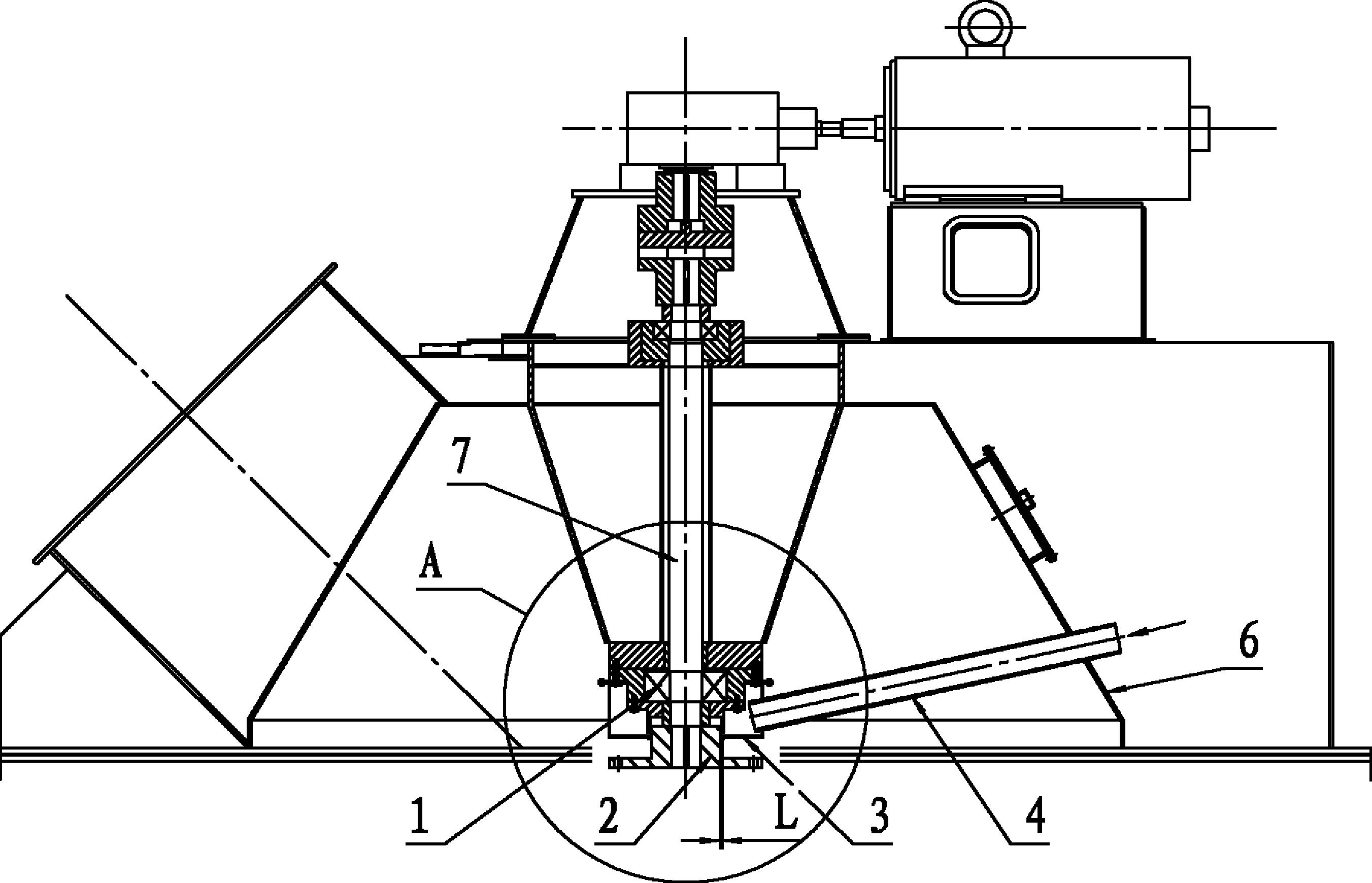
立磨选粉机下轴承风冷装置-爱企查
图片尺寸2703x1740
节能气流选粉机-爱企查
图片尺寸1244x2198
盐城辉煌 t-sepax高效三分离选粉机
图片尺寸500x396
cn212310096u_高效涡流选粉机有效
图片尺寸1770x2136
一种双传动双分级高效选粉机的制作方法
图片尺寸352x330
cn112354703a_一种可调控三分离选粉机在审
图片尺寸1945x1679
选粉机
图片尺寸600x400
o-sepa选粉机是如何进行撒料分散的
图片尺寸312x358
高效双转子选粉机图纸lxz-600(直筒)
图片尺寸1600x1280
一种多产品机械风力组合式选粉机
图片尺寸1291x1846
cn101716574a_高效均料选粉机失效
图片尺寸1386x2296