通光孔

通光孔
图片尺寸1080x810
11,通光孔 让光线通过 12,压片夹 固定玻片 13,镜柱 支撑并调节角度
图片尺寸1080x810
叶片 通光孔就组成了光圈.
图片尺寸750x580
显微镜的通光孔在哪,求图片
图片尺寸913x679
物镜 载物台 通光孔 光线 载物台 反光镜 白亮的视野
图片尺寸1080x810
怎么使用显微镜
图片尺寸500x279
5mm厚的不锈钢激光打孔方孔0.8mm边长
图片尺寸750x562
光学手动可变可调调光径光精密通光孔小孔遮光光电
图片尺寸800x800
显微镜的使用方法,显微镜的使用方法和注意事项(你还
图片尺寸640x853
最小光圈的状态,看看有多少片叶片,最小光圈时,通光孔几近圆形.
图片尺寸1024x726
紧急泄压人孔呼吸人孔呼吸阀罐顶通光孔罐壁人孔装配式三角形内浮顶
图片尺寸869x1281
另外,在使用显微镜时,经过光路的镜片,聚光镜或滤光片越多,那么成像
图片尺寸1440x1080
望远镜通光孔
图片尺寸590x331
光澜 通光孔调节范围3-50mm,1-20mm4.
图片尺寸388x425
图04:镜头中央的通光孔与光圈叶片
图片尺寸3024x4032
穿过通光孔的光线光圈光线强时用小光圈光线弱时用大光圈◆反光镜显微
图片尺寸720x405
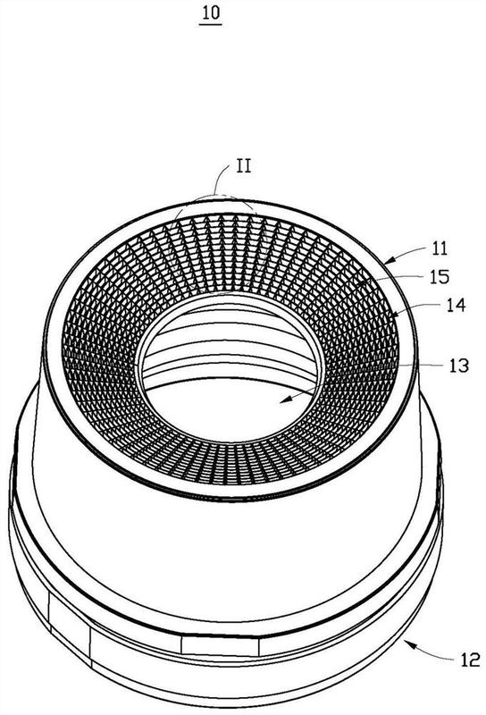
所述镜筒包括物侧端,像侧端及贯穿所述物侧端和所述像侧端的通光孔,所
图片尺寸544x800
65mm大通光孔f1.8投影镜头生产-阿里巴巴
图片尺寸1920x1920
相差显微镜必不可少的配置_常见问题_上光体视显微镜产品区
图片尺寸273x277
亲子鉴定都需要提供什么亲子鉴定需要提供些什么
图片尺寸800x320